Донские Радиолюбители
16+
главная
новости
статьи
частоты
репитеры
радиоклубы
форум
ссылки
литература
RK6LZQ
Статьи

Статьи : Телефония / Сотовая телефония / CDMA /

CDMA One (IS-95)

Добавлено пользователем UB6LXC 10.01.2013 в 08:30.
Изменено пользователем UB6LXC 13.03.2025 в 14:37.
Содержание:
Сокращения
Введение
Появление сетей сотовой подвижной связи
Развитие и борьба между стандартами цифровых сетей
Технология СDMA
Сотовая система подвижной радиосвязи стандарта СDМА One
Применение CDMA в системах беспроводной связи типа WiLL
Заключение
Литература

Сокращения

Сокращения на английском языке

BTS (Base Tranceiver Station) — Базовая приемопередающая станция;
BSC (Base Station Controller) — Контроллер базовых станций;
СDMA (Code Division Multiple Access) — Множественный доступ с кодовым разделением каналов;
CELP (Code Excited Linear Predictive) — Алгоритм с линейным предсказанием кода;
CODIT (Code Division Testbed) — Проект в рамках европейской программы RACE. Его основная цель — изучение потенциальных возможностей системы многостанционного доступа с кодовым разделением каналов как метода доступа для третьего поколения систем сотовой подвижной связи UMTS/FPLMTS;
DB (Data Base) — База данных об абонентах и оборудовании;
DS-CDMA (Direct Sequence CDMA) — Метод прямого расширения спектра;
FDMA (Frequency-Division Multiple Access) — Системы с частотным разделением каналов;
FPLMTS (Future Public Land Mobile Telephone System) — Будущая система подвижной связи общего пользования;
GPS (Global Positioning System) — Система глобального местоопределения;
MS (Mobile Station) — Подвижная станция;
MSC (Mobile Switching Centre) — Центр коммутации подвижной связи;
OMC (Operation and Maintenance Centre) — Центр управления и обслуживания;
SU (Selector Unit) — Устройство выбора кадра;
TIA (Telecommunications Industry Association) — Промышленная ассоциация в области связи;
UMTS (Universal Mobile Telesystem) — Универсальная система подвижной связи;
WiLL (Wireless Local Loop) — Беспроводное абонентское окончание (система беспроводной связи для стационарных абонентов).

Сокращения на русском языке

АКФ — автокореляционная функция;
AЦП — аналогово-цифровой преобразователь;
БИС — большая интегральная схема;
ВКФ — взаимнокореляционная функция;
ШПС — широкополосный сигнал;
ПСП — псевдослучайная последовательность;
ФМн — фазовая манипуляция;
ЦАП — цифро-аналоговый преобразователь.

Введение

Связь — одна из наиболее динамично развивающихся отраслей инфраструктуры современного общества. Этому способствуют постоянный рост спроса на услуги связи и информацию, а также достижения научно-технического прогресса в области электроники, волоконной оптики и вычислительной техники. В настоящее время во многих странах ведется интенсивное внедрение сотовых сетей подвижной связи (СПС), сетей персонального радиовызова и систем спутниковой связи. В активно разрабатываемой МСЭ концепции универсальной персональной связи большое место отводится СПС. Такие сети предназначены для передачи данных (ПД) и обеспечения подвижных и стационарных объектов телефонной связью. Передача данных подвижному абоненту резко расширяет его возможности, поскольку, кроме телефонных, он может принимать телексные и факсимильные сообщения, различного рода графическую информацию и многое другое. Увеличение объема информации потребует сокращения времени ее передачи и получения. Поэтому сейчас наблюдается устойчивый рост производства мобильных средств радиосвязи (пейджеров, сотовых радиотелефонов, спутниковых пользовательских терминалов).
Подвижная связь позволяет абоненту получать услуги связи в любой точке в пределах зон действия наземных или спутниковых сетей; благодаря прогрессу в технологии производства средств связи созданы малогабаритные универсальные абонентские терминалы (AT), сопрягаемые с персональным компьютером (ПК) и имеющие интерфейсы для подключения к СПС всех действующих стандартов. Сети подвижной связи можно разделить на следующие классы: сети сотовой подвижной связи (ССПС); сети транкинговой связи (СТС); сети персонального радиовызова (СПР); сети персональной спутниковой (мобильной) связи.
Сети подвижной связи созданы с целью максимального удовлетворения на современном мировом уровне потребностей абонентов в услугах связи с возможностью выхода в телефонную сеть общего пользования (ТфОП).
Среди современных телекоммуникационных средств наиболее стремительно развиваются сети сотовой радиотелефонной связи. Их внедрение позволило решить проблему экономичного использования выделенной полосы радиочастот путем передачи сообщений на одних и тех же частотах и увеличить пропускную способность телекоммуникационных сетей. Свое название сети сотовой радиотелефонной связи получили в соответствии с сотовым принципом организации связи, согласно которому зона обслуживания (территория города или региона) делится на большое число малых рабочих зон или сот в виде шестиугольников.
Система сотовой связи — это сложная и гибкая техническая система, допускающая большое разнообразие по вариантам конфигурации и набору выполняемых функций. Она может обеспечивать передачу речи и других видов информации, в частности факсимильных сообщений и компьютерных данных. Для передачи речи, в свою очередь, может быть реализована обычная двухсторонняя и многосторонняя телефонная связь (конференцсвязь — с участием в разговоре более двух абонентов одновременно), голосовая почта. При организации обычного телефонного разговора возможны режимы автодозвона, ожидания вызова, переадресации (условной или безусловной) вызова и другие дополнительные виды обслуживания.
Использование современной технологии позволяет обеспечить абонентам таких сетей высокое качество речевых сообщений, надежность и конфиденциальность связи, миниатюрность радиотелефонов, защиту от несанкционированного доступа (НСД) в сеть.

Появление сетей сотовой подвижной связи

Аналоговые сети сотовой подвижной связи

Появлению сетей сотовой подвижной связи (ССПС) предшествовал долгий период эволюционного развития радиотелефонной системы связи (РСС), в течение которого осваивались различные частотные диапазоны, и совершенствовалась техника связи. Идея сотовой связи была предложена в ответ на необходимость развития широкой сети подвижной РСС в условиях ограничений на доступные полосы частот.
В середине 40-х годов исследовательский центр Bell Labs американской компании AT&T предложил идею разбиения обслуживаемой территории на небольшие участки, которые стали называться сотами, (cell — ячейка, сота). Каждая сота должна была обслуживаться передатчиком с ограниченным радиусом действия и фиксированной частотой. Это позволило бы без взаимных помех использовать ту же самую частоту повторно в другой ячейке (соте). Но прошло около 30 лет, прежде, чем такой принцип организации связи был реализован на аппаратном уровне.
В 70-х годах начались работы по созданию единого стандарта сотовой связи для пяти североевропейских стран — Швеции, Финляндии, Исландии, Дании и Норвегии, который получил название NMT-450 (Nordic Mobile TelephOne) и был предназначен для работы в диапазоне 450 МГц. Эксплуатация первых систем сотовой связи этого стандарта началась в 1981 г. Сети на основе стандарта NMT-450 и его модифицированных версий стали широко использоваться в Австрии, Голландии, Бельгии, Швейцарии, а также в странах Юго-Восточной Азии и Ближнего Востока. На базе этого стандарта в 1985 г. был разработан стандарт NMT-900 диапазона 900 МГц, который позволил расширить функциональные возможности и значительно увеличить абонентскую емкость системы.
В 1983 г. в США вступила в эксплуатацию сеть стандарта AMPS (Advanced Mobile PhOne Service). Этот стандарт был разработан в исследовательском центре Bell Laboratories.
В 1985 г. в Великобритании был принят в качестве национального стандарт TACS (Total Access Communications System), разработанный на основе американского стандарта AMPS. В 1987 г. была расширена его рабочая полоса частот. Новая версия этого стандарта получила название ETACS (Enhanced TACS). Во Франции в 1985 г. был принят стандарт Radiocom-2000.

Цифровые сети сотовой подвижной связи

В конце 80-х годов приступили к созданию систем сотовой связи (ССС), основанных на цифровых методах обработки сигналов. С целью разработки единого европейского стандарта цифровой сотовой связи для выделенного в этих целях диапазона 900 МГц в 1982 г. Европейская Конференция Администраций Почт и Электросвязи (СЕРТ) создала специальную группу Groupe Special Mobile. Аббревиатура GSM дала название новому стандарту (позднее GSM стали расшифровывать как Global System for Mobile Communications). Результатом работы этой группы стали опубликованные в 1990 г. требования к системе ССС стандарта GSM.
В США в 1990 г. американская Промышленная Ассоциация в области связи TIA (Telecommunications Industry Association) утвердила национальный стандарт IS-54 цифровой сотовой связи. Этот стандарт более известен под аббревиатурой D-AMPS или ADC. В отличие от Европы, в США не были выделены новые частотные диапазоны, поэтому система должна была работать в полосе частот, общей с обычным AMPS. В то же время американская компания Qualcomm начала разработку нового стандарта сотовой связи, основанного на технологии шумоподобных сигналов и кодовом разделении каналов — CDMA (Code Division Multiple Access).
Для стандарта CDMA характерны отличное качество звука и низкий уровень фоновых шумов. Повышенная емкость системы, которая в 10 раз выше чем у AMPS и в 3—5 раз больше чем у GSM, определяется максимально возможным количеством активных пользователей системы на территории зоны ее обслуживания. CDMA улучшает качество связи в перенаселенных районах, и местностях с холмистым рельефом, где возникают помехи от отраженных сигналов. CDMA увеличивает емкость системы, «виртуально» отсеивая занятые, перекрестные и повисшие вызовы. Это становится возможным благодаря многократному использованию одного частотного канала во всех сотах. Повышению емкости системы способствует применение механизма контроля мощности и речевой активности, что уменьшает взаимные помехи, влияющие на емкость системы и другие факторы. В результате абоненты не страдают от блокировки вызовов в часы наибольшей нагрузки на сеть.
Существенным отличием абонентских аппаратов CDMA является малая излучаемая мощность, которая составляет менее 10 мВт, что на порядок меньше, чем в сетях DAMPS и GSM. Столь низкие требования к мощности позволяют использовать портативные аппараты с более длительным временем работы без подзарядки. CDMA использует более 4,4 триллиона кодов для разделения индивидуальных вызовов, обеспечивая полную защиту и предотвращая несанкционированные подключения. CDMA использует уникальный код для каждого вызова, что позволяет надежно защитить частную информацию. Провайдеры могут использовать одну из трех систем множественного доступа, и разделить абонентов так, чтобы они не мешали друг другу.

Развитие и борьба между стандартами цифровых сетей

В 1991 г. в Европе появился стандарт DCS-1800 (Digital Cellular System 1800 МГц), созданный на базе стандарта GSM.
В Японии был разработан собственный стандарт сотовой связи JDC (Japanese Digital Cellular), близкий по своим показателям к стандарту D-AMPS. Стандарт JDC был утвержден в 1991 г. Министерством почт и связи Японии.
В 1993 г. в Великобритании вступила в эксплуатацию первая сеть DCS-1800 "One-2-One".
В 1993 г. в США Промышленная Ассоциация в области связи (TIA) приняла стандарт CDMA как внутренний стандарт цифровой сотовой связи, назвав его IS-95. Аббревиатура IS (Interim Standard — временной стандарт) используется для учета в TIA, а цифра означает порядковый номер. Из полного названия стандарта TIA/EIA/IS-95 видно, что в его рассмотрении принимал также участие EIA, который объединяет семь крупных организаций США.
В сентябре 1995 г. в Гонконге была открыта коммерческая эксплуатация первой сети стандарта IS-95. В сети применялось базовое оборудование Motorola и мобильные телефоны Qualcomm. Изначально эта сеть, состоящая всего из 113 сот и работающая только на одном канале шириной 1,23 МГц, обслуживала более 40 000 абонентов. Причем соты CDMA были наложены на существующую сеть AMPS. Система работала гораздо более надежно, чем ее предшественница, несмотря на значительно больший трафик в сети. Из-за гористого ландшафта, окруженности водой, множества тоннелей и яростной конкуренции между семью провайдерами Гонконг рассматривается как чрезвычайно проблемный рынок. По словам Генри Вонга, главного инженера компании Hutchison, "CDMA требует сот на тридцать—сорок процентов меньше, чем GSМ, чтобы обслуживать ту же территорию, включая все низменности и возвышенности Гонконга, десять станций метро, тоннели вокруг города и Коулунский полуостров".
Затем, в 1996-м году, и в Корее появились сети CDMA компаний Korea Mobile Telecom и Shinsengi Telecom. В США тем временем компании AirTouch Communications и 360-Communications (бывшая Sprint Cellular) начали преобразовывать свои сети стандарта AMPS в CDMA.
В России в 90-х сперва полноценной сетью CDMA обладал только один московский оператор — сотовая сеть «Сонет» (торговая марка компании «Персональные Коммуникации»). Затем и Ростелеком начал разворачивать свою сеть CDMA, работающую в диапазоне 800 МГц. В основном в качестве абонентского оборудования применялись стационарные аппараты Qualcomm.
Можно сказать, что технологии CDMA в России не повезло: широкое внедрение систем сотовой связи в нашей стране началось в начале 90-х годов, а CDMA-устройства появились только в 1995—1996 годах, когда рынок был уже в значительной степени поделен. Тем не менее весьма перспективная технология, обладающая рядом привлекательных для пользователя характеристик, постепенно становится все более серьезным конкурентом для прижившихся на российском рынке стандартов.
В 1998 г. операторские компании CDMA учредили Ассоциацию операторов сетей МДКР (CDMA).
14 апреля 1999 г. был подписан приказ Госкомсвязи РФ № 67 «О применении абонентского оборудования на сетях местной телефонной связи с абонентским радиодоступом на базе стандарта IS-95», в котором предусматривался ряд ограничительных мер относительно развития и применения систем связи, строящихся на базе данного стандарта. В частности, не допускалось использование абонентского оборудования стандарта IS-95 (т.е. CDMA) в мобильном режиме.
Фактически приказ ужесточал уже существующие ограничения на использование CDMA, запрещая подключение мобильных CDMA-терминалов (трубок) к действующим сетям. Дело в том, что формально Министерством связи в России для сетей CDMA был отведен строго определенный сегмент рынка, а именно предоставление услуг фиксированной сотовой связи. Стало быть, абонентский терминал (собственно телефон) должен был использоваться только стационарно. По замыслу Министерства связи сети CDMA должны были использоваться в России в основном для телефонизации отдаленных и малонаселенных территорий и в других случаях, когда обычное проводное подключение невозможно или займет значительное время.
Эту позицию Министерство связи активно (и вполне содержательно) критиковали операторы CDMA, но с определенной точки зрения она вполне была оправдана. С одной стороны, специфические свойства CDMA позволяли более эффективно использовать частотный диапазон для фиксированной связи. С другой — появление в России еще одного стандарта до принятия рекомендаций по стандарту третьего поколения затруднило бы как переход на новый стандарт, так и обеспечение совместимости с уже действующими. И наконец, отчетливая ориентация Министерства связи РФ на GSM как на основной стандарт, обеспечивающий международный роуминг, также имело свои резоны: GSM чрезвычайно распространен в Европе, а наши люди ездят туда гораздо чаще, чем в Америку.
По мнению членов Ассоциации-800, образованной операторами AMPS и D-AMPS, некоторые операторы CDMA в нарушение лицензии оказывали услуги мобильной связи, что в сочетании с их низкими тарифами создавало "недобросовестную конкуренцию на рынке мобильной связи". Такая практика и послужила поводом для выпуска приказа, подтверждающего жесткую позицию Министерства связи в отношении CDMA.
Операторы GSM тоже не были в восторге от растущей популярности CDMA. Несмотря на важное преимущество GSM перед AMPS/DAMPS и CDMA — возможность автоматического роуминга в европейских странах, новый стандарт мог стать серьезным конкурентом на российском рынке благодаря лучшему качеству связи, более низким тарифам, широкому спектру дополнительных услуг.
В общем, возможности использования CDMA на тот момент выглядели весьма ограниченными: мобильное применение формально запрещено, да и упомянутый приказ сильно усложнял жизнь "нелегальным" мобильным абонентам сетей CDMA.
Но вот если требовалось срочно обеспечить телефонную связь для нового офиса, промышленных или складских помещений, гаража и т. п., CDMA становился весьма приемлемым решением, при том, что использование других стандартов сотовой связи (AMPS/DAMPS, GSM и т. п.) для фиксированного подключения по сравнению с CDMA малоэффективно и дорого.
27 апреля 1999 г. Ассоциация направила в Министерство РФ по антимонопольной политике и развитию предпринимательства (МАП), а также Министерство юстиции письмо с просьбой дать правовую оценку приказа № 67.
14 июля 1999 г. МАП по ходатайству Ассоциации возбудил против Гостелекома России дело о нарушении антимонопольного законодательства (Определение № АЦ/07-15299).
11 августа 1999 г. Главгоссвязьнадзор РФ издал указание № 25-у «О неотложных мерах по обеспечению функционирования абонентского оборудования на сетях местной телефонной связи с абонентским радиодоступом на базе стандарта IS-95 только в стационарных условиях». Такое ограничение возможностей CDMA операторы расценили как проявление монополистических действий со стороны Администрации связи, предпринятых с целью ограничения конкуренции на рынке мобильной связи.
12 октября 1999 г. решением комиссии МАП по рассмотрению дела о CDMA Гостелекому России было предписано снять ограничения на развитие и применение систем связи с использованием технологии CDMA (IS-95).
29 октября 1999 г. Гостелеком России обратился в Арбитражный суд Москвы с исковым заявлением о признании недействительным решения МАП России от 12 октября 1999 г. по делу № АЦ/07-15299 и предписания МАП России о прекращении нарушения антимонопольного законодательства по делу № АЦ/07-15299.
В ноябре 1999 г. Гостелеком РФ отменил приказ от 14 апреля 1999 г. № 67 и направил письмо в Главгоссвязьнадзор с просьбой отменить указание Главгоссвязьнадзора России от 11 августа 1999 г. № 25-У.
Однако все это не изменило ситуации с дальнейшей дискриминацией CDMA. Позиция Министерства РФ по связи и информатизации (Минсвязи) заключается в том, что регулирование использования CDMA — это вопрос технической политики, которая находится в ведении Минсвязи. Логическим продолжением такой позиции стал приказ Минсвязи РФ от 8 декабря 1999 г. № 6 «О дальнейшем развитии систем радиодоступа к телефонной сети на Взаимоувязанной сети связи Российской Федерации». В приказе предусмотрено, что «фиксированная связь» в отношении систем радиодоступа, использующих радиоинтерфейс сотовых систем подвижной связи, — это «фиксация системой положения абонентской станции пользователя с точностью до зоны обслуживания одной базовой станции … без передачи обслуживания другим базовым станциям».
Для организации систем радиодоступа выделяются отдельные полосы частот в диапазоне 800 МГц. Поскольку часть полос в этом диапазоне занята AMPS, а другая часть — CDMA и операторам AMPS выданы лицензии на предоставление услуг подвижной сотовой радиотелефонной связи, то наиболее вероятным может быть вывод о том, что приказ № 6 направлен на регулирование отношений по предоставлению услуг CDMA.
В письме Минюста от 27 декабря 1999 г. № 10815-ЭР разъяснено, что приказ № 6 не нуждается в регистрации в Министерстве юстиции России. Тем самым Минюст фактически поддержал позицию Минсвязи относительно того, что вопросы регулирования CDMA — часть технической политики Минсвязи (следовательно, они не затрагивают права и обязанности участников рынка).
В январе 2000 г. Ассоциация направила письмо в Минсвязи с просьбой подтвердить вывод о том, что приказ № 6 не распространяется на оборудование и сети CDMA и не имеет отношения к операторским компаниям, занимающимся организацией этих сетей и предоставляющим услуги связи на их основе. К письму прилагалась Справка об использовании механизма эстафетной передачи в сетях радиотелефонной связи технологии CDMA. Ответ на данное письмо Ассоциация не получила.
14 февраля 2000 г. был подписан Меморандум о взаимопонимании между Минсвязи и Ассоциацией, на основании которого Арбитражный суд Москвы признал устраненными нарушения антимонопольного законодательства и прекратил производство по иску Гостелекома России к МАП России. Однако по существу ничего не изменилось. Министерство так и не позволило операторам сетей CDMA предоставлять услуги мобильной связи.
В июле и сентябре 2000 г. Ассоциация направила письма в МАП с просьбой оказать содействие в разрешении конфликтной ситуации в связи с уклонением Министерства от реализации договоренностей, предусмотренных Меморандумом.
К началу 2000-х во многих городах уже были развернуты и функционировали сети CDMA: в Санкт-Петербурге, Владивостоке, Новосибирске, Краснодарском крае, в Ивановской, Липецкой, Ростовской, Рязанской и Челябинской областях. Там операторами сетей CDMA выступали, как правило, местные полугосударственные АО "Электросвязь".
К 1 января 2001 года в 18 субъектах РФ функционировало 16 сетей связи CDMA. Абонентская составляла 81 тыс. абонентов, увеличившись за 2000-й год в 2,5 раза.
Таким образом, можно сделать вывод, что традиционный CDMA к 2000-м годам завоевал в России определенную нишу и стараниями операторов пытался выйти на рынок услуг мобильной связи. Технология по ряду параметров была привлекательной, однако в связи с действующими ограничениями применялась скорее в составе комбинированного решения, чем в качестве единого корпоративного стандарта.
Коммерческие сети CDMA-One, начавшие массово развертываться только в 1996 году, стали необычайно быстро развиваться. И в Северной и Южной Америках, в Австралии, в Юго-Восточной Азии, в Африке и на Ближнем Востоке. К началу 2000г. они уже обслуживали свыше 50 млн. абонентов. В результате в сотовом мире сети CDMA-One по темпам роста обгоняли самые массовые на тот момент сети GSM, имевшие изрядную временную фору, но догнать всё равно не успели, потому что в 2003—2005 годах весь мир перешёл опять же на сети CDMA, но уже широкополосные (CDMA-2000, W-CDMA и пр.).
Решением ГКРЧ от 24 апреля 2000 г. (протокол № 22/3) устанавливается срок службы гражданских сетей связи диапазона 800 МГц (CDMA, AMPS, D-AMPS) — до 2010 г.
В ноябре 2000 г. была принята Концепция развития в России сотовых систем подвижной связи общего пользования на период до 2010 г., в которой технология CDMA рассматривается исключительно как одна из возможных платформ для построения систем третьего поколения (3G). Что касается систем CDMA второго поколения (IS-95), то в Концепции лишь упоминается об уровне внедрения этих систем за рубежом. Российские сети CDMA не рассматривались разработчиками Концепции по формальному признаку: CDMA для Администрации связи — это исключительно фиксированная связь.
Судьба CDMA в России зависела от стремления Администрации связи максимально привязать коммуникационное пространство стандарта GSM в России к европейскому и довести отношения с производителями оборудования связи FDMA и TDMA почти до уровня эксклюзивности. В этих условиях CDMA становится опасным и потому нежелательным конкурентом признанным федеральным стандартам мобильной связи.

Технология СDMA

Принципы кодового разделения каналов

Изначально система связи CDMA One была предназначена для работы в диапазонах частот 824—849 МГц (обратный канал) и 869—894 МГц (прямой канал) с дуплексным разносом 45 МГц. Общая полоса частот, занимаемая в эфире — 1,25 МГц.
Передача речи и данных по стандарту IS-95 осуществляется кадрами длительностью 20 мс. При этом скорость передачи в пределах сеанса связи может изменяться от 1,2 до 9,6 кбит/с, но в течение одного кадра она остается неизменной. Если количество ошибок в кадре превышает допустимую норму, то искаженный кадр удаляется.
В стандарте CDMA передаваемую информацию кодируют и код превращают в шумоподобный широкополосный сигнал (ШШС) так, что его можно выделить снова, только располагая кодом на приемной стороне. При этом одновременно в широкой полосе частот можно передавать и принимать множество сигналов, которые не мешают друг другу.

Принцип CDMA
Широкополосной называется система, которая передает сигнал, занимающий очень широкую полосу частот, значительно превосходящую ту минимальную ширину полосы частот, которая фактически требуется для передачи информации. В широкополосной системе исходный модулирующий сигнал (например, сигнал телефонного канала) с полосой всего несколько килогерц распределяют в полосе частот, ширина которой может быть несколько мегагерц. Это осуществляется путем двойной модуляции несущей передаваемым информационным сигналом и широкополосным кодирующим сигналом. Основной характеристикой широкополосного сигнала является его база B, определяемая как произведение ширины спектра сигнала F на его период Т. В результате перемножения сигнала источника псевдослучайного шума с информационным сигналом энергия последнего распределяется в широкой полосе частот, т.е. его спектр расширяется.
Информация может быть введена в широкополосный сигнал (ШПС) несколькими способами. Наиболее известный способ заключается в наложении информации на широкополосную модулирующую кодовую последовательность перед модуляцией несущей для получения ШШС.

Схема расширения спектра частот цифровых сообщений
Узкополосный сигнал умножается на псевдослучайную последовательность (ПСП) с периодом Т, состоящую из N бит длительностью t0 каждый. В этом случае база ШПС численно равна количеству элементов ПСП.
Этот способ пригоден для любой широкополосной системы, в которой для расширения спектра высокочастотного сигнала применяется цифровая последовательность.
Принципы кодового разделения каналов связи (СDМА — Code Division Multiple Access) основаны на использовании широкополосных сигналов (ШПС), полоса которых значительно превышает полосу частот, необходимую для обычной передачи сообщений, например, в узкополосных системах с частотным разделением каналов (FDMA). Основной характеристикой ШПС является база сигнала, определяемая как произведение ширины его спектра F на его длительность Т:
В = F × T.
В цифровых системах связи, передающих информацию в виде двоичных символов, длительность ШПС Т и скорость передачи сообщений С связаны соотношением Т = 1/С. Поэтому база сигнала В = F/C характеризует расширение спектра ШПС (Sшпс) относительно спектра сообщения. Расширение спектра частот передаваемых цифровых сообщений может осуществляться двумя методами или их комбинацией:
  1. Прямым расширением спектра частот.
  2. Скачкообразным изменением частоты несущей.
При первом способе узкополосный сигнал умножается на псевдослучайную последовательность (ПСП) с периодом повторения Т, включающую N бит последовательности длительностью T0 каждый. В этом случае база ШПС численно равна количеству элементов ПСП В =T/T0=N.
Скачкообразное изменение частоты несущей, как правило, осуществляется за счет быстрой перестройки выходной частоты синтезатора в соответствии с законом формирования псевдослучайной последовательности.
Прием ШПС осуществляется оптимальным приемником, который для сигнала с полностью известными параметрами вычисляет корреляционный интеграл
где x(t) — входной сигнал, представляющий собой сумму полезного сигнала u(t) и помехи n(t) (в данном случае белый шум). Затем величина Z сравнивается с порогом Z0. Значение корреляционного интеграла находится с помощью коррелятора или согласованного фильтра. Коррелятор осуществляет "сжатие" спектра широкополосного входного сигнала путем умножения его на эталонную копию u(t) с последующей фильтрацией в полосе 1/Т, что и приводит к улучшению отношения сигнал/шум на выходе коррелятора в В раз по отношению ко входу.
При возникновении задержки между принимаемым и опорным сигналами амплитуда выходного сигнала коррелятора уменьшается и приближается к нулю, когда задержка становится равной длительности элемента ПСП T0. ЭТО изменение амплитуды выходного сигнала коррелятора определяется видом АКФ — автокореляционной функции (при совпадающих входной и опорной ПСП) и ВКФ — взаимнокорреляционной функции (при отличающихся входной и опорной ПСП). На рисунке ниже показаны, соответственно, структура М-последовательности с N=15, вид её периодической АКФ и апериодической АКФ, то есть периодически не продолжающейся во времени.
Выбирая определенный ансамбль сигналов с "хорошими" взаимными и автокорреляционными свойствами можно обеспечить в процессе корреляционной обработки (свертки ШПС) разделение сигналов. На этом основан принцип кодового разделения каналов связи.
В существующих и разрабатываемых системах сотовой связи преимущественно используются ШПС, формирование которых осуществляется по методу прямого расширения спектра (DS-CDMA — Direct Sequence CDMA). В этом случае адресность абонентов определяется формой псевдослучайной последовательности, используемой для расширения полосы спектра частот. Радиосигнал, сформированный в этом случае, называется фазоманипулированным широкополосным сигналом (ФМн ШПС).
Доминирующее значение в выборе вида ПСП для формирования ШПС в системах подвижной радиосвязи играют прежде всего взаимные и автокорреляционные характеристики ансамбля сигналов, его объем, простота реализации устройств формирования и "сжатия" (свертки) сигналов в приемнике. В этой связи для формирования ФМн ШПС преимущественно используются линейные М-последовательности и их сегменты. Для расширения объема ансамбля сигналов часто используют составные ПСП, сформированные, например, на основе М-последовательностей и последовательностей Уолша.
Создание систем сотовой подвижной радиосвязи с кодовым разделением абонентов сдерживалось отсутствием технических и технологических возможностей по реализации малогабаритных, малопотребляющих и многофункциональных устройств "сжатия" ШПС. В настоящее время эти проблемы успешно решены американскими фирмами Qualcomm, InterDigital, Motorola. На основе предложений фирмы Qualcomm в США принят стандарт IS-95 на систему сотовой подвижной радиосвязи с кодовым разделением каналов. В рамках европейской программы RACE разрабатывается проект CODIT, основной целью которого является изучение потенциальных возможностей системы многостанционного доступа с кодовым разделением каналов как метода доступа для третьего поколения систем сотовой подвижной связи UMTS/FPLMTS.
Сущность широкополосной связи состоит в расширении полосы частот сигнала, передаче ШПС и выделении из него полезного сигнала путем преобразования спектра принятого ШПС в первоначальный спектр информационного сигнала.
Перемножение принятого сигнала и сигнала такого же источника псевдослучайного шума (ПСП), который использовался в передатчике, сжимает спектр полезного сигнала и одновременно расширяет спектр фонового шума и других источников интерференционных помех. Результирующий выигрыш в отношении сигнал/шум на выходе приемника есть функция отношения ширины полос широкополосного и базового сигналов: чем больше расширение спектра, тем больше выигрыш. Во временной области — это функция отношения скорости передачи цифрового потока в радиоканале к скорости передачи базового информационного сигнала. Для стандарта 1S-95 отношение составляет 128 раз, или 21 дБ. Это позволяет системе работать при уровне интерференционных помех, превышающих уровень полезного сигнала на 18 дБ, так как обработка сигнала на выходе приемника требует превышения уровня сигнала над уровнем помех всего на 3 дБ. В реальных условиях уровень помех значительно меньше. Кроме того, расширение спектра сигнала (до 1,23 МГц) можно рассматривать как применение методов частотного разнесения приема. Сигнал при распространении в радиотракте подвергается замираниям вследствие многолучевого характера распространения. В частотной области это явление можно представить как воздействие режекторного фильтра с изменяющейся шириной полосы режекции (обычно не более чем на 300 кГц). В стандарте AMPS это соответствует подавлению десяти каналов, а в системе CDMA подавляется лишь около 25% спектра сигнала, что не вызывает особых затруднений при восстановлении сигнала в приемнике.
В стандарте CDMA для кодового разделения каналов используются ортогональные коды Уолша. Коды Уолша формируются из строк матрицы Уолша:
Особенность этой матрицы состоит в том, что каждая ее строка ортогональна любой другой или строке, полученной с помощью операции логического отрицания. В стандарте IS-95 используется матрица 64-го порядка. Для выделения сигнала на выходе приемника применяется цифровой фильтр. При ортогональных сигналах фильтр можно настроить таким образом, что на его выходе всегда будет логический «0», за исключением случаев, когда принимается сигнал, на который он настроен. Кодирование по Уолшу применяется в прямом канале (от БС к AT) для разделения пользователей. В системах, использующих стандарт IS-95, все АС работают одновременно в одной полосе частот. Согласованные фильтры приемников БС квазиоптимальны в условиях взаимной интерференции между абонентами одной соты и весьма чувствительны к эффекту «далеко- близко». Для максимизации абонентской емкости системы необходимо, чтобы терминалы всех абонентов излучали сигнал такой мощности, которая обеспечила бы одинаковый уровень принимаемых БС сигналов. Чем точнее управление мощностью, тем больше абонентская емкость системы.
В технических решениях компании Qualcomm расширение спектра обеспечивается за счет модуляции сигнала псевдослучайной последовательностью с частотой следования дискретов 1,23 МГц. Более точно эта частота составляет 1,2288 МГц, причем 1228,8 = 9,6х128, так что при частоте информационной битовой последовательности 9,6 кбит/с длительности одного бита соответствует 128 дискретов псевдослучайной модулирующей последовательности. Полоса сигнала с расширенным спектром по уровню 3 дБ составляет 1,23 МГц, причем при помощи цифрового фильтра формируется спектр, близкий к прямоугольному.
Для модуляции сигнала используется три вида функций: «короткая» и «длинная» ПСП и функции Уолша порядков от 0 до 63. Все они являются общими для базовых и мобильных станций, однако реализуют разные функции (см. таблицу ниже).

Табл.1. Параметры кодовых последовательностей в стандарте IS-95
Тип сигналаДлина кодаВыполняемые функции
Базовая станцияМобильная станция
Код Уолша64Кодовое уплотнение или разделение 64 каналов CDMAПомехоустойчивое кодирование
Короткий код32768Разделение сигналов базовых станци по величине циклического сдвигаКод с одниаковым циклическим сдвигом как опорный сигнал скремблера
Длинный код242-1 (4,4×1012)Прореженный длинный код как опорная последовательность скремблераДлинный код с разными циклическими сдвигами как адресная последовательность

На рисунке ниже представлены графики функций Уолша восьми первых порядков. Длина короткой ПСП составляет 215-1 = 32767 знаков, длинной ПСП — 242-1 = 4,4×1012 знаков. Длительность дискрета для всех трех модулирующих функций одинакова и соответствует частоте следования дискретов 1,2288 МГц.

Графики функций Уолша восьми первых порядков
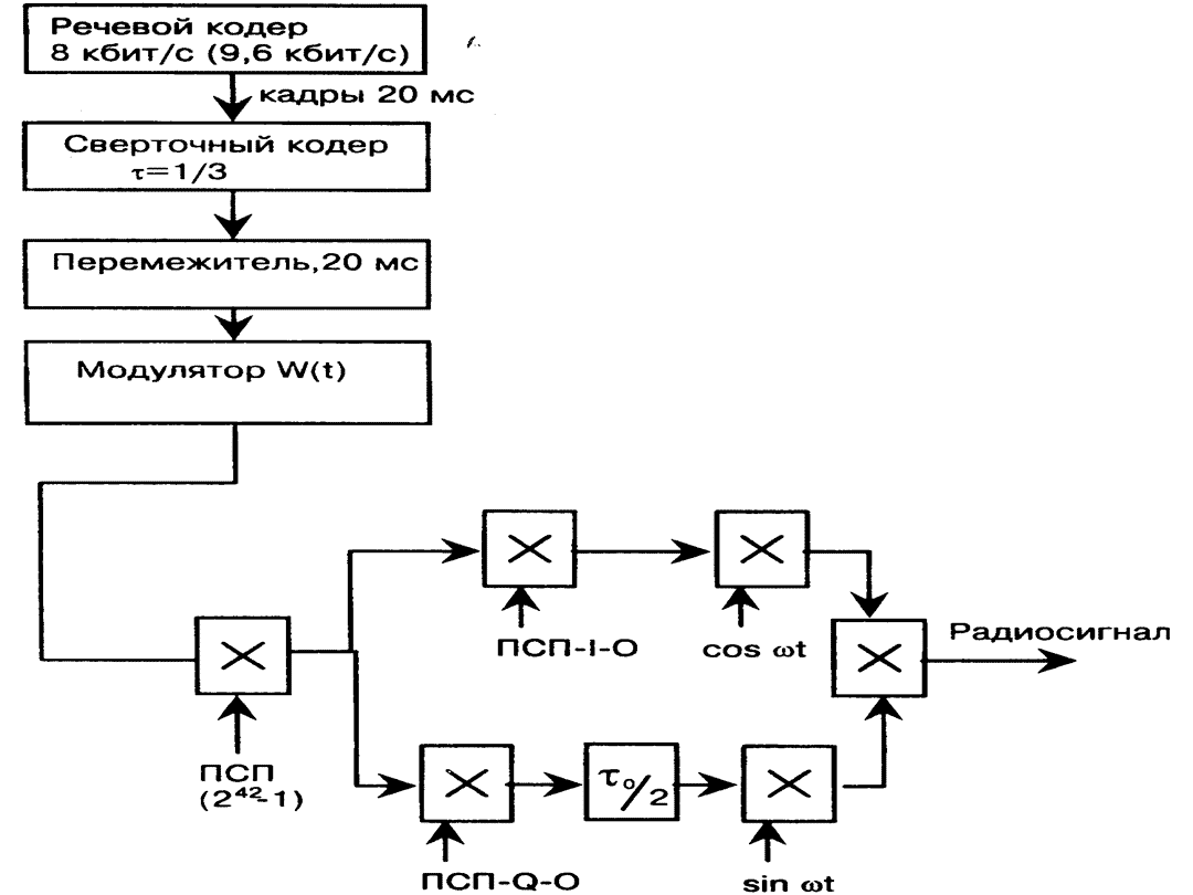
В прямом канале (от БС к подвижной, см. рисунок ниже) модуляция сигнала функциями Уолша (бинарная фазовая манипуляция) используется для различения разных физических каналов данной БС; модуляция длинной ПСП (бинарная фазовая манипуляция) — с целью шифрования сообщений; модуляция короткой ПСП (квадратурная фазовая манипуляция двумя ПСП одинакового периода) — для расширения полосы и различения сигналов разных БС.

Схема обработки сигналов в передающем тракте базовой станции
Различение сигналов разных станций обеспечивается тем, что все БС используют одну и ту же пару коротких ПСП, но со сдвигом на 64 дискрета между разными станциями, т.е. всего в сети 511 кодов; при этом все физические каналы одной БС имеют одну и ту же фазу последовательности.
На БС формируется 4 типа каналов: канал пилот-сигнала (PI), синхроканал (SYNC), вызывной канал (РСН) и канал трафика (ТСН). Число одновременно передаваемых каналов и их параметры указаны в таблице ниже.

Табл. 2. Характеристики канального кодирования и модуляции в IS-95
ПараметрБазовая станцияМобильная станция
Тип каналаPISYNCPCHTCHACHPCH
Число одновременно передаваемых каналов1175511
Входная скорость, кбит/сН/п1,22,41,24,81,2
4,82,42,4
9,64,84,8
9,69,6
Скорость кодированияН/п1/21/21/21/31/3
Скорость на выходе сверточного кодера, кбит/сН/п4,84,82,414,43,6
9,64,87,2
19,29,614,4
19,228,8
Выходная скорость кодированного потока, кбит/сН/п4,819,219,228,828,8
Скорость после кодового преобразования, кбит/сН/пН/пН/пН/п307,2307,2
Метод модуляции в радиоканалеQPSKQPSKQPSKQPSKOQPSKOQPSK
Н/п — неприменимо

Сигналы разных каналов взаимно ортогональны, что гарантирует отсутствие взаимных помех между ними на одной БС. Внутрисистемные помехи в основном возникают от передатчиков других БС, работающих на той же частоте, но с иным циклическим сдвигом.
Излучение пилот-сигнала происходит непрерывно. Для его передачи используют функцию Уолша нулевого порядка (W0). Пилот-сигнал — это сигнал несущей, который используется ПС для выбора рабочей ячейки (по наиболее мощному сигналу), а также в качестве опорного для синхронного детектирования сигналов информационных каналов. Обычно на пилот-сигнале излучается около 20% общей мощности, что позволяет мобильной станции (МС) обеспечить точность выделения несущей частоты и осуществить когерентный прием сигналов.
В синхроканале (SYNC) входной поток со скоростью 1,2 кбит/с перекодируется в поток, передаваемый со скоростью 4,8 кбит/с. Синхросообщение содержит технологическую информацию, необходимую для установления начальной синхронизации на МС: данные о точном системном времени, о скорости передачи в канале РСН, о параметрах короткого и длинного кода. Скорость передачи в синхроканале ниже, чем в вызывном (РСН) или канале графика (ТСН), благодаря чему повышается надежность его работы. По завершении процедуры синхронизации МС настраивается на канал вызова РСН и постоянно контролирует его. Для кодирования синхроканала используется функция W32.
Функции W1-W7 используются для кодирования каналов вызова — их число может составлять от 0 до 7; остальные функции Уолша (вместе с оставшимися от каналов вызова, если их число меньше семи) используются для кодирования каналов графика. Число каналов графика может составлять от 55 до 62.
При передаче сигнала от БС используется сверточное кодирование со скоростью R=1/2 и кодовым ограничением K=9 (табл. 2). Для борьбы с замираниями в стандарте IS-95 предусмотрено поблочное перемежение символов, позволяющее декоррелировать пакеты ошибок. Скорость передачи по каналу ТСН может изменяться от 1,2 до 9,6 кбит/с, что позволяет гибко адаптировать трафик к условиям распространения радиоволн. Для приёма сигналов используется RAKE-приёмник, имеющий несколько каналов для их параллельной обработки.
В IS-95 допускается использование нескольких типов речевых кодеков: CELP (8 кбит/с), QCELP (13 кбит/с) или EVRC (8 кбит/с). Типовые значения оценки качества по шкале MOS для алгоритма CELP составляет 3,7 балла (9600 бит/с) и 3,0 балла (4800 бит/с). Вносимая алгоритмом CELP задержка не превышает 30 мс. Качество передачи речи в вокодере QCELP (Qualcomm CELP) очень близко к качеству передачи по проводным линиям (4,02 балла).
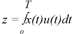
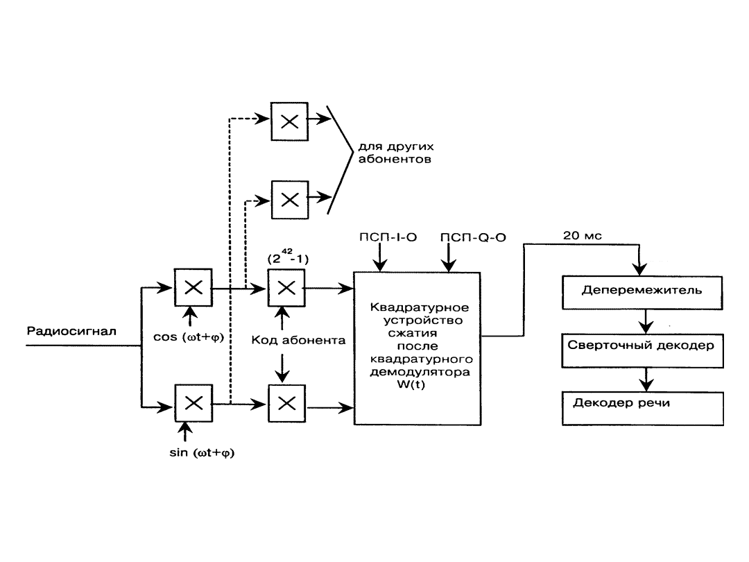
В обратном канале (от подвижной станции к базовой, см. рис. ниже) модуляция сигнала короткой ПСП используется только для расширения спектра, причем все подвижные станции используют одну и ту же пару последовательностей с одинаковым (нулевым) смещением. Модуляция сигнала длинной ПСП кроме шифрования сообщений несет информацию о ПС в виде ее закодированного индивидуального номера и обеспечивает различение сигналов от разных ПС одной ячейки за счет индивидуального для каждой станции сдвига последовательности.

Схема обработки сигналов в передающем тракте подвижной станции
В МС предусмотрено два типа информационного обмена: доступ (АСН) и трафик (ТСН). Пилот-сигнала в обратном канале нет, поэтому синхронное детектирование не используется, БС осуществляют некогерентную обработку сигналов, а помехоустойчивость обеспечивается в основном за счет пространственного разнесения.
В кодеках МС тоже применяются ортогональные коды Уолша, но не для уплотнения каналов (как на БС), а для повышения помехоустойчивости. С этой целью входной поток данных со скоростью 28,8 кбит/с разбивается на пакеты по 6 бит, и каждому из них однозначно ставится в соответствие одна из 64 последовательностей Уолша. В итоге скорость кодированного потока на входе модулятора возрастает до 307,2 кбит/с. Это кодирование одинаково для всех физических каналов, а на приемном конце используются 64 параллельных канала, каждый из которых настроен на свою функцию Уолша, и эти каналы распознают (декодируют) принятые 6-битовые символы.
В обратном канале, как и в прямом, для защиты от ошибок используются сверточное кодирование с длиной ограничения 9, но со скоростью 1/3 (т.е. с вдвое большей избыточностью — это мера компенсации отсутствия синхронного детектирования) и перемежение на интервале 20 мс. В результате кодирования скорость в информационном канале увеличивается до 28,8 кбит/с.
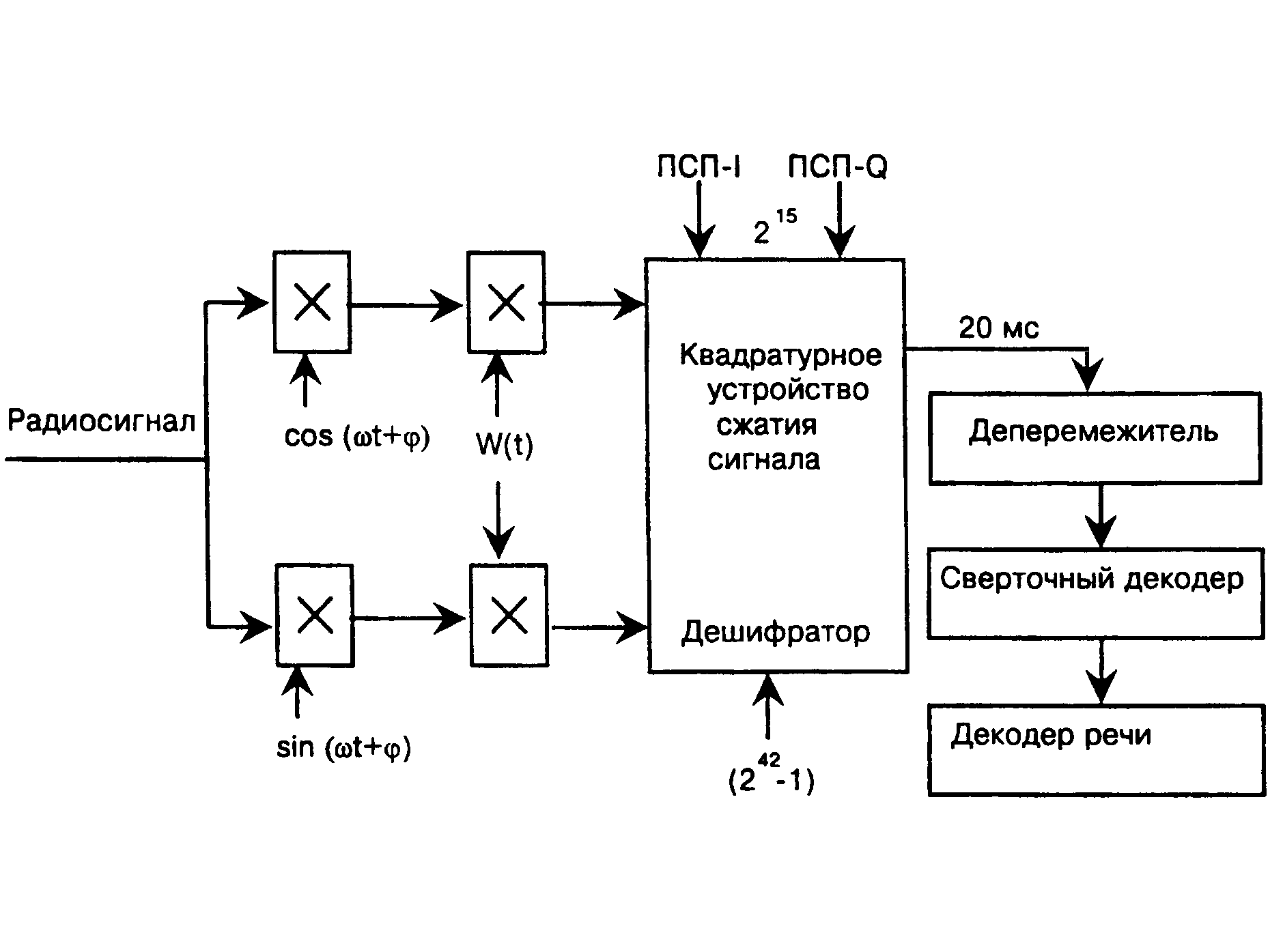
На рисунке ниже приведена упрощенная структурная схема, поясняющая принцип работы системы стандарта CDMA. Информационный сигнал кодируется по Уолшу, затем смешивается с несущей, спектр которой предварительно расширяется перемножением с сигналом источника псевдослучайного шума. Каждому информационному сигналу назначается свой код Уолша, затем они объединяются в передатчике, пропускаются через фильтр, и общий шумоподобный сигнал излучается передающей антенной.

Принцип работы системы сотовой связи стандарта CDMA
На вход приемника поступают полезный сигнал, фоновый шум, помехи от БС соседних ячеек и от ПС других абонентов. После ВЧ-фильтрации сигнал поступает на коррелятор, где происходит сжатие спектра и выделение полезного сигнала в цифровом фильтре с помощью заданного кода Уолша. Спектр помех расширяется, и они появляются на выходе коррелятора в виде шума. На практике в ПС используется несколько корреляторов для приема сигналов с различным временем распространения в радиотракте или сигналов, передаваемых различными БС.
В системах, использующих метод CDMA, изменяя синхронизацию источника псевдослучайного шума, можно использовать один и тот же участок полосы частот для работы во всех ячейках сети. Такое 100%-ное использование доступного частотного ресурса — один из основных факторов, определяющих высокую абонентскую емкость сети стандарта CDMA и упрощающих её организацию. Системы на базе CDMA имеют динамическую абонентскую емкость. И хотя имеется 64 кода Уолша, этот теоретический предел не достигается в реальных условиях, и абонентская емкость системы ограничивается внутрисистемной интерференцией, вызванной одновременной работой подвижных и базовых станций соседних ячеек.
Число абонентов в системе CDMA зависит от уровня взаимных помех. Согласованные фильтры БС весьма чувствительны к эффекту «ближний-дальний», когда МС, расположенная вблизи базовой, работает на большой мощности, создавая недопустимо высокий уровень помех при приеме других, «дальних» сигналов, что приводит к снижению пропускной способности системы в целом. Эта проблема существует у всех CMC, однако наибольшие искажения сигнала возникают именно в CDMA-системах, работающих в общей полосе частот, в которых используются ортогональные шумоподобные сигналы. Если бы в этих системах отсутствовала регулировка мощности, то они существенно уступали бы по характеристикам сотовым сетям на базе TDMA. Поэтому ключевой проблемой в CDMA-системах можно считать индивидуальное управление мощностью каждой станции.
Эффективная работа системы с кодовым доступом возможна лишь при условии выравнивания сигнала от различных абонентов на входе базовой станции. Причем чем выше точность выравнивания, тем больше зона покрытия системы.
Следует отметить, что прямой канал менее подвержен искажениям сигнала за счет внутрисистемных помех и многолучевых замираний, так как на БС всегда существует запас по мощности. Поэтому основные проблемы возникают при регулировке мощности в обратном канале — от абонента к БС.
Чем выше точность управления мощностью, тем ниже уровень взаимных помех. В стандарте IS-95 регулировка мощности МС осуществляется в динамическом диапазоне 84 дБ с шагом 1 дБ, т.е. с точностью ±0,5 дБ. Интервал между соседними измерениями равен 1,25 мс. Биты управления мощностью передаются по каналу трафика со скоростью 800 бит/с. Раздельная обработка многолучевых сигналов с последующим их сложением обеспечивает требуемое отношение сигнал/шум в 6—7 дБ. Применение нескольких параллельно работающих каналов при раздельной обработке лучей позволяет осуществить «мягкий» режим переключения МС при переходе абонента из одной соты в другую.
Абонентская ёмкость ячейки системы CDMA оптимизируется использованием алгоритма регулировки, который ограничивает мощность, излучаемую каждым AT, до необходимого уровня для получения приемлемой вероятности ошибки. В системе предусматривается три механизма регулировки мощности: в прямом канале — разомкнутая петля; в прямом канале — замкнутая петля; в обратном канале (ОК) — внешняя петля регулирования.
Процесс регулирования мощности передающих устройств в ОК (от абонента к БС) заключается в следующем. Каждая ПС непрерывно передает информацию об уровне ошибок в принимаемом сигнале. На основании этой информации БС распределяет излучаемую мощность между абонентами таким образом, чтобы в каждом случае обеспечить приемлемое качество речи. Абоненты, на пути к которым радиосигнал испытывает большее затухание, получают возможность излучать сигнал большей мощности. Основная цель регулировки мощности в ОК — оптимизация площади соты.
В процессе регулирования мощности в прямом канале (от БС к абоненту) возможны два варианта регулирования: по открытому циклу (разомкнутая петля) и по замкнутому циклу (замкнутая петля). Схема управления мощностью в прямом канале изображена на рисунке ниже.

Схема управления мощностью в прямом канале
При открытом цикле ПС после включения ищет сигнал БС. После синхронизации ПС но этому сигналу производится замер его мощности и вычисляется мощность передаваемого сигнала, необходимая для обеспечения соединения с БС. Вычисления основываются на том, что сумма уровней предполагаемой мощности излучаемого сигнала и мощности принятого сигнала должна быть постоянна и равна 73 дБ. Этот процесс повторяется каждые 20 мс, но он все же не обеспечивает желаемой точности регулировки мощности, так как прямой и обратный каналы работают в разных частотных диапазонах (разнос частот 45 МГц) и, следовательно, имеют различные уровни затухания при распространении и по-разному подвержены воздействию помех.
При замкнутом цикле возможно точно отрегулировать мощность передаваемого сигнала. БС постоянно оценивает вероятность ошибки в каждом принимаемом сигнале. Если она превышает программно заданный порог, то БС дает команду соответствующей ПС увеличить мощность излучения. Регулировка осуществляется с шагом 1 дБ. Этот процесс повторяется каждые 1,25 мс. Цель такого процесса регулирования заключается в том, чтобы каждая ПС излучала сигнал минимальной мощности, которая достаточна для обеспечения приемлемого качества речи. За счет того, что все ПС излучают сигналы необходимой для нормальной работы мощности, и не более, их взаимное влияние минимизируется, и абонентская емкость системы возрастает. ПС должны обеспечивать регулирование выходной мощности в широком динамическом диапазоне — до 85 дБ.
При процедуре мягкой эстафетной передачи (переходе абонента из зоны обслуживания одной БС в зону другой) схема регулирования мощности несколько иная. МС принимает одновременно несколько команд управления мощностью от разных БС (обычно двух) и сравнивает их между собой. Если все команды указывают на необходимость увеличения мощности, то МС последовательно увеличивает свою мощность с шагом 1 дБ.
Регулирование мощности как в прямом, так и в обратном канале влияет на срок службы аккумуляторов ПС. Средняя излучаемая мощность ПС в CDMA меньше, чем в системах, использующих другие методы доступа. Это непосредственно связано с такими параметрами радиотелефона, как длительность непрерывного занятия канала и время нахождения в режиме ожидания.

Эффективность и преимущества СDMA

В выборе технологии сотовой телефонии на рубеже третьего тысячелетия по-видимому появилась определённость. К концу 1999 года в мире, по данным CDG (CDMA development group), технологию CDMA (Code Division Multiple Access) выбрали 50 млн. абонентов (рис. ниже). В том числе, 28 млн. в Азии, 16,5 млн. в Северной Америке и 5 млн. в Латинской Америке. В Европе, Ближнем Востоке и Африке насчитывается полмиллиона абонентов.

Рост числа абонентов CDMA в мире
Такое стремительное развитие технологии доступа с кодовым разделением объясняется ожидаемым увеличением плотности абонентов, устойчивостью к помехам, высокой степенью защищённости передаваемых данных от несанкционированного доступа и лучшими энерго-экономическими показателями. Упрощённое моделирование показывает, что ёмкость базовых станций с технологией CDMA в несколько раз больше по сравнению с существующими стандартами сотовой телефонии, в которых используется частотное разделение каналов (NMT, AMPS, TACS). Реальность, конечно, значительно сложнее, чем идеализированные модели.
В системах беспроводной сотовой связи CDMA стандарта IS-95 применяется шумоподобная широкополосная связь с несущими шириной около 1,25 МГц в диапазоне частот 800 МГц.
Все абоненты сети работают в одном частотном диапазоне, а выделение нужного из общего шумоподобного сигнала происходит за счет специального уникального для каждого абонента кодирования/декодирования.
Технология СDMA обеспечивает:
  • лучшее качество связи по сравнению с другими стандартами, особенно внутри зданий, "мягкую" передачу абонента от станции к станции;
  • высокую помехоустойчивость (даже при наличии постоянной узкополосной помехи в используемом частотном диапазоне);
  • высокий уровень информационной безопасности (не зная уникальный код абонента, выделить его трафик из общего сигнала практически невозможно);
  • ряд дополнительных служб (передача коротких текстовых сообщений между абонентами, передача данных и факсимильных сообщений);
  • пониженный уровень энергопотребления и мощности излучения по сравнению с другими стандартами и, соответственно, большее время работы батарей до разрядки;
  • улучшенные характеристики покрытия, позволяющие использовать меньшее количество сот;
  • отсутствие частотного планирования благодаря использованию тех же самых частот в смежных секторах каждой соты;
  • более эффективное использование частотного диапазона (в 3—4 раза выше, чем GSM, и в 8—10 раз выше, чем AMPS); при фиксированной связи эти соотношения повышаются примерно вдвое.
Высокая помехоустойчивость (что важно для крупного города и промышленных объектов), уверенный прием (в том числе внутри зданий), возможность передачи данных, высокая защищенность от прослушивания, низкие тарифы, — всё это делало CDMA весьма привлекательной для использования в качестве корпоративного стандарта сотовой мобильной связи.
CDMA позволяет обеспечить более высокую спектральную эффективность (то есть большее число обслуживаемых абонентов в определенной полосе частот) по сравнению с системами FDMA и TDMA. Это означает, что при одинаковой ширине полосы частот CDMA предоставляет возможность обслуживания большего числа абонентов, чем другие стандарты. Поэтому с точки зрения использования спектра применение систем CDMA для меньшего количества абонентов нецелесообразно.
В таблице ниже приведены основные характеристики CDMA и их краткое описание, определяющие достоинства и перспективность систем сотовой связи с кодовым разделением каналов.
ХарактеристикиОписание
Высокая пропускная способностьПолевые испытания, проводившиеся в различных условиях, подтвердили, что при высокой нагрузке пропускная способность систем CDMA в среднем в 15 раз превышает пропускную способность аналоговых систем. Если выражать это в Эрлангах при любом качестве обслуживания, то преимущества систем CDMA еще более очевидны. Наконец, при использовании существующих вокодеров, которые работают на половинной скорости передачи, пропускная способность увеличивается еще в 1,7 раза. Дополнительная секторизация (свыше 3) также увеличивает пропускную способность
Высококачественная связьВокодер, работающий на переменной скорости передачи, обеспечивает преобразование речевых сигналов в цифровую форму и высококачественное воспроизведение речи. фоновые сигналы заглушаются даже при большой нагрузке. Система независимо отслеживает поступающие отдельные сигналы при многолучевом распространении, что значительно снижает подверженность замираниям. Метод мягкой передачи абонента (переключения абонента с одного радиоканала на другой), применяемый в системах CDMA, обеспечивает почти прозрачную передачу вызовов между сотами. Такой надежный метод передачи практически исключает потерю вызовов и снижает нагрузку на коммутационное оборудование.
Возможность дальнейшей эволюции системыВ существующей системе предусмотрены поисковые службы и цифровая передача данных. Существующая структура управления обеспечивает протоколы факсимильной связи. Могут быть предусмотрены и более высокие скорости передачи (в настоящее время используется скорость 9,6 кбит/c). Портативные абонентские станции, основанные только на методе CDMA и совместимые с сотовыми системами и УАТС, могут отвечать перспективным требованиям.
Возможность введения новых функцийПри желании с одного и того же аппарата можно получить выход к беспроводной УАТС, домашнему беспроводному телефону, общественным беспроводным цифровым телефонным аппаратам, к сети персональной связи и к сотовым сетям. Обеспечиваются интерфейсы с УАТС, сетью ISDN и коммутируемой телефонной сетью общего пользования. Цифровые сигналы управления позволяют организовать целый ряд служб передачи данных, которые можно добавлять по мере того, как компания-оператор будет вводить новые услуги. Вокодер с переменной скоростью передачи и предусмотренная возможность передачи данных позволяют вводить различные уровни обслуживания. Предусмотренные в системе измерения уровня сигнала и его задержки позволяют определять положение подвижной станции.
Секретность связиЦифровая форма сигналов, передача в широкой полосе частот, защита информации для каждого адресата — все это обеспечивает значительно более высокую, чем в других системах, секретность связи.
Простота перехода (и совместимость с аналоговыми системами)CDMA позволяет почти утроить существующую в аналоговых сетях пропускную способность и обеспечивает более высокое качество обслуживания. Пропускная способность и радиопокрытие позволяют вводить CDMA при значительно меньшем числе сот, чем на существующих сетях. Зона радиоохвата антенны и секторизация не зависят от соты и не так тесно связаны, как в узкополосных системах. Последующее расширение может быть поэтапным и может быть местным (чтобы быстро обеспечить радиопокрытие в каком-то одном месте) или глобальным. Абонентские станции CDMA рассчитаны на работу в двух режимах, поэтому они могут выходить либо к каналам CDMA, либо к аналоговым каналам AMPS.
Цена и наличие оборудованияСуществующие оценки стоимости системы CDMA в отношении сетевого и абонентского оборудования показывают, что по стоимости эта система эквивалентна существующим аналоговым системам. Более высокая пропускная способность позволяет организовать связь при значительно меньшем числе сот, чем в аналоговых системах и системах с TDMA, что снижает капитальные и эксплуатационные затраты. Проверенная технология заказных интегральных схем позволила свести технологию сложных схем CDMA к очень простым решениям.

Сотовая система подвижной радиосвязи стандарта СDМА One

Семейство стандартов СDМА One

Сотовая система подвижной радиосвязи общего пользования с кодовым разделением каналов (СDМА) впервые была разработана фирмой Qualcomm (США). Основная цель разработки состояла в том, чтобы увеличить емкость системы сотовой связи по сравнению с аналоговой не менее, чем на порядок и, соответственно, увеличить эффективность использования выделенного спектра частот.
Технические требования к системе CDMA сформированы в ряде стандартов Ассоциации промышленности связи (ТIА):
  • IS-95 — Радиоинтерфейс CDMA One;
  • IS-96 — Речевые службы CDMA One;
  • IS-97 — Подвижная станция CDMA One;
  • IS-98 — Базовая станция CDMA One;
  • IS-99 — Службы передачи данных CDMA One.

Технические особенности технологии CDMA One

Чтобы сопоставить возможности технологии CDMA, надо привести описание существующих стандартов.
Advanced Mobile Phone Service (AMPS). В этом стандарте предусмотрено частотное разделение доступа абонентов к базовой станции (FDMA — frequency division multiple access). Каждому каналу выделяется узкая полоса частот (30 кГц), и этот канал назначается одному абоненту. Существует также узкополосный AMPS (NAMPS), в этом стандарте на один канал выделяется только 10 кГц. В системе TACS (Total Access Communications System) полоса частот, отводимых под один канал, составляет 25 кГц.
В Северной Америке один оператор владеет в среднем 416 каналами AMPS и занимает полосу 30 кГц × 416 > 12,5 МГц. Очевидно, что те же самые частоты не могут использоваться в прилегающих сотах, поэтому семь сот, образующих "ромашку" используют один частотный план. Таким образом, для AMPS количество абонентов на одну соту составляет примерно 416/7 = 59. На рисунке ниже повторное использование тех же частот показано одинаковыми оттенками.

"Ромашка" частотного плана AMPS
Следует отметить, что коэффициент повторного использования частот K = 7 выбран скорее из практических натурных измерений, чем из закона затухания радиоволн в вакууме на свободной поверхности, и учитывает реальное окружение: дома, рельеф и др. На свободной поверхности этот коэффициент был бы несколько больше.
В Европе широкое распространение получили технологии с временным разделением каналов. В GSM (IS-54) используется 10 частотных каналов и 8 временных слотов, занимающих частотный ствол шириной 200 кГц. Таким образом, в системе GSM в той же полосе частот 12,5 МГц могут быть размещены 12,5/0,2 = 62 ствола по 200 кГц каждый. Учитывая, что каждый частотный канал делится на 8 временных слотов, ёмкость соты составляет 80 абонентов, против 59 в AMPS.
Технология с кодовым разделением каналов предлагает дальнейшие пути увеличения ёмкости базовых станций. Ключевой момент — использование шумоподобных сигналов. Вместо разделения спектра или временных слотов каждому пользователю назначается фрагмент шумоподобной несущей. Поскольку её фрагменты являются квазиортогональными, возникает возможность отвести всю ширину выделенного канала для каждого пользователя. Благодаря решению проблемы ближней-дальней зоны и динамическому управлению мощностью, распределение частот выглядит, как показано на рисунке ниже, то есть вся полоса частот 1,25 МГц используется каждым пользователем и она же вновь используется в смежной соте. Емкость на одну соту определяется балансом между требуемым отношением сигнал/шум для каждого пользователя и фактором сжатия кодовой последовательности.

Частотный план CDMA
Количественным показателем качества цифрового приёмника является безразмерное отношение сигнал/шум (SNR — Signal Noise Ratio)

Выражение 1
Под спектральной плотностью мощности шума в выражении подразумевается последняя для тепловых шумов, а интерференция — это взаимное влияние от других абонентов. Значение отношения сигнал/шум определяет отношение количества ошибочно переданных бит к их общему числу. Это отношение зависит также и от других дополнительных факторов, таких как кодирование и коррекция ошибок в канале, многолучевое распространение и замирания. Для приёмников, используемых обычно в коммерческом CDMA, отношение сигнал/шум должно составлять от 3 до 9 дБ. Энергия, приходящаяся на один бит, и скорость передачи данных связаны следующим соотношением:

Выражение 2
где Ps — мощность сигнала.

Шум плюс интерференционная составляющая — это спектральная плотность мощности. Если спектр сигнала имеет равномерное распределение с полосой W, тогда шум плюс интерференционная составляющая спектральной плотности мощности есть:

Выражение 3
где первое слагаемое представляет собой уровень теплового шума приёмника (FN = фактор шума приёмника). Переписав выражение для отношения сигнал/шум в терминах скорости передачи данных и ширины занимаемого спектра, получим формулу, связывающую отношение энергии на один бит к мощности шума с мощностью, приходящейся на конкретного пользователя, а также со скоростью передачи данных, суммарной мощностью, приходящейся на других пользователей, и шириной занимаемого спектра:

Выражение 4
Эта формула поясняет, что системы с кодовым разделением доступа дают наибольшее преимущество в сетях с высокой плотностью абонентов и высоким трафиком.
Система СDМА One фирмы Qualcomm рассчитана на работу в диапазоне частот 800 МГц, выделенном для сотовых систем стандартов AMPS, N-AMPS и D-AMPS. (Стандарты ТIА IS-19, IS-20, IS-54, IS-55, IS-56, IS-88, IS-89, IS-90, IS-553).
В стандарте используется раздельная обработка отраженных сигналов, приходящих с разными задержками, и последующее их весовое сложение, что значительно снижает отрицательное влияние эффекта многолучевости. При раздельной обработке лучей в каждом канале приема на базовой станции используется 4 параллельно работающих коррелятора, а на подвижной станции — 3 коррелятора. Наличие параллельно работающих корреляторов позволяет осуществить мягкий режим "эстафетной передачи" (Soft Handoff) при переходе из соты в соту.
Мягкий режим "эстафетной передачи" происходит за счет управления подвижной станцией двумя или более базовыми станциями. Транскодер, входящий в состав основного оборудования, проводит оценку качества приема сигналов от двух базовых станций последовательно кадр за кадром, как показано на рисунке ниже.
Процесс выбора лучшего кадра приводит к тому, что результирующий сигнал может быть сформирован в процессе непрерывной коммутации и последующего "склеивания" кадров, принимаемых разными базовыми станциями, участвующими в "эстафетной передаче". Мягкое переключение обеспечивает высокое качество приема речевых сообщений и устраняет перерывы в сеансах связи, что имеет место в сотовых сетях связи других стандартов.

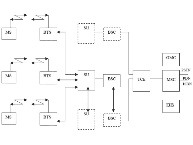
На рисунке ниже приведена обобщенная структурная схема сети сотовой подвижной радиосвязи СDМА, основные элементы которой (BTS, BSC, MSC, ОМС) аналогичны используемым в сотовых сетях с частотным (NMT-450/900, AMPS, TACS) и временным разделением каналов (GSM, GSM/DCS/-1800, PCS-1900, D-AMPS, JDC).
здесь:
BSC (Base Station Controller) — Контроллер базовой станции
BTS (Base Telephone Station) — Базовая приемопередающая станция
DB (Date Base) — База данных
ISDN (Integrated Service Digital Network) — Цифровая сеть с интеграцией служб
MS (Mobile Station) — Мобильная станция
MSC (Mobile Switching Center) — Центр коммутации мобильной связи
OMC (Operation and Maintenance Center) — Центр эксплуатации и технического обслуживания
PDN (Packet Data Networks) — Сеть пакетной коммутации
PSTN (Public Switched Telephone Network) — Общедоступная телефонная сеть
SU (Selector Unit) — Устройство оценки качества и выбора блоков
TCE (Transcoder Equipment) — Преобразователь-транскодер.

Основные элементы этой сети (BTS, BSC, MSC, ОМС) по составу совпадают с элементами, используемыми в сотовых сетях с временным разделением каналов. Основное отличие заключается в том, что в состав сети CDMA IS-95 включены устройства оценки качества и выбора блоков (SU, Selector Unit). Кроме того, для реализации процедуры мягкого переключения между базовыми станциями, управляемыми разными контроллерами (BSC), вводятся линии передачи между SU и BSC (Inter BSC Soft handover). В центре коммутации подвижных объектов (MSC) добавлен преобразователь – транскодер (TCE, Transcoder Equipment), который преобразует выборки речевого сигнала, формат данных из одного цифрового формата в другой.

Использование радиоспектра сетью CDMA One

Технология CDMA имеет целый ряд фундаментальных преимуществ, которые и обусловили устойчивый интерес к ней, в первую очередь, со стороны военных специалистов, первыми начавших ее применение как в СССР, так и в США. В частности, отдельные системы CDMA способны работать под уровнем шумов, затрудняя не только возможность перехвата информации, но даже определения самого факта наличия ее передачи. Возвращаясь к коммерческим радиотелефонным системам CDMA, следует отметить, что с момента принятия в США в 1993г. первого стандарта TIA/EIA/IS-95/CDMA One многие фундаментальные качества технологии CDMA, интересные при массовом обслуживании абонентов, перешли из чисто теоретической плоскости в практическую.
Итак, в первую очередь, к уникальным качествам технологии CDMA, привлекающим операторов, относится максимальная из всех существующих технологий подвижной связи 2G эффективность использования радиоспектра (Эрл/МГц×кв.км). Поэтому весьма важному показателю системы стандарта CDMA One превосходят цифровые системы на базе технологии TDMA: GSM — в 3 раза, DAMPS — в 5 раз, не говоря уже об аналоговых системах на базе технологии FDMA: AMPS — в 15 раз. Стоит ли говорить, что в условиях ограниченного частотного ресурса, что наблюдается отнюдь не только в России (где исторически приоритет имеют средства связи специального и военного назначения, а гражданские системы связи часто работают на вторичной основе), экономия радиочастотного природного ресурса способствует снижению затрат на развертывание сетей и, в конечном счете, созданию предпосылок для снижения тарифов.
Для огромной территории России и малой плотности населения наиболее эффективным диапазоном построения сотовых сетей связи являются диапазоны 800 МГц и 900 МГц (DAMPS, CDMA One, GSM), а частотные диапазоны 1,8 ГГц (GSM) и 2,1 ГГц (3G) менее выгодны, и могут использоваться лишь в крупных населенных пунктах, обеспечивая поддержку по нагрузке уже существующим сетям диапазонов 800 МГц и 900 МГц. Для остальной части России такие проекты, похоже, просто нерентабельны.
Возможно использование диапазона 800 МГц и дальнейшее развитие в этом диапазоне наиболее эффективной технологии сотовой связи CDMA, например, путем эволюционного развития к стандарту третьего поколения CDMA-2000 через поэтапные модификации 1ХRTT и 3XRTT, предполагающие повышение скорости передачи данных с 144 кбит/с до 2 Мбит/с соответственно на одном и трех каналах CDMA шириной 1,23 МГц. Последующие технические достижения в области оптимальных методов обработки информации и повышения эффективности использования спектра вскоре позволили передавать 2,5 Мбит/с и даже 5 Мбит/с в полосе одного частотного канала шириной 1,23 МГц (например, технические предложения Qualcomm по технологии HDR и Motorola/Nokia по технологии 1XTREME).
Как известно, из официально выделенного соответствующими решениями ГКРЧ для строительства сетей технологии CDMA в России частотного диапазона 828—831МГц / 873—876 МГц, операторами используется (а точнее выделен им ГСН) лишь один частотный канал шириной 1,23 МГц, а второй частотный канал в разрешенном диапазоне пустует.... Для сравнения укажем, что, например, в Московском регионе стандарт технологии AMPS/DAMPS занимает полосу от 7 до 10 МГц, а стандарт технологии GSM — в общей сложности не менее 12 МГц и при этом больше нет ни одного свободного участка спектра. Между тем сегодня практически все сети технологии CDMA One в мире используют несколько частотных каналов шириной 1,23 МГц (обычно не менее трех).
Вне зависимости от технологии сети сотовой связи, основанной на механизмах рассеяния и дифракции электромагнитных волн, существует минимальное расстояние между базовыми станциями микросот (порядка 500—700 м), при котором электромагнитные волны между абонентским терминалом и базовой станцией распространяются, преимущественно, в условиях прямой видимости (показатель степени m экспоненты в функции затухания электромагнитных волн равен двум). В результате резко повышается уровень внутрисистемных помех и снижается качество связи. Для случая технологии CDMA, кроме того, снижается пропускная способность канала связи. Так, например, для микросот с m=2 увеличение уровня внутрисистемных помех приводит к снижению пропускной способности более чем в два раза по сравнению с m=4, что соответствует, в среднем, макросотам с расстоянием более 2 км между базовыми станциями и преобладанию механизмов рассеяния и дифракции при распространении электромагнитных волн.

Система CDMA One фирмы Qualcomm построена по методу прямого расширения спектра частот на основе использования 64 видов последовательностей, сформированных по закону функций Уолша. Для передачи речевых сообщений выбрано речепреобразующее устройство с алгоритмом CELP со скоростью преобразования 8000 бит/с (9600 бит/с в канале). Возможны режимы работы на скоростях 4800, 2400 и 1200 бит/с.
В каналах системы CDMA применяется свёрточное кодирование со скоростью 1/2 (в каналах от базовой станции) и 1/3 (в каналах от подвижной станции), декодер Витерби с мягким решением, перемежение передаваемых сообщений. Общая полоса канала связи составляет 1,25 МГц. Основные характеристики стандарта CDMA Qualcomm и технические параметры оборудования сетей приведены в таблице ниже.

ПараметрЗначение
Диапазон частот передачи MS824,040 — 848,860 МГц
Диапазон частот передачи BTS869,040 — 893,970 МГц
Относительная нестабильность несущей частоты BTS±5×10-8
Относительная нестабильность несущей частоты MS±2,5×10-6
Вид модуляции несущей частотыQPSK (BTS), O-QPSK (MS)
Ширина спектра излучаемого сигнала:
по уровню −3 дБ
по уровню −40 дБ

1,25 МГц
1,50 МГц
Тактовая частота ПСП1,2288 МГц
Количество элементов в ПСП:
для BTS
для MS

32768 бит
242-1 бит
Количество каналов BTS на 1 несущей частоте1 пилот-канал
1 канал сигнализации
7 каналов перс. вызова
55 каналов связи
Количество каналов MS1 канал доступа
1 канал связи
Скорость передачи данных:
в канале синхронизации
в канале перс. вызова и доступа
в каналах связи

1200 бит/с
9600,4800 бит/с
9600, 4800, 2400, 1200 бит/с
Кодирование в каналах передачи BTS (канал синх., перс. вызова, связи)свёрточный код r == 1/2, длина кодового огр. К=9
Кодирование в каналах передачи MSсвёрточный код r = 1/3, К=9 64-ичное кодирование ортогональными сигналами Уолша
Требуемое для приема отношение энергии бита информации к спектральной плотности шума (E0/N0)6—7 дБ
Максимальная эффективная излучаемая мощность BTSдо 50 Вт
Максимальная эффективная излучаемая мощность MS:
1 класс
2 класс
3 класс

6,3 Вт
2,5 Вт
1,0 Вт
Точность управления мощностью передатчика MS±0,5 дБ

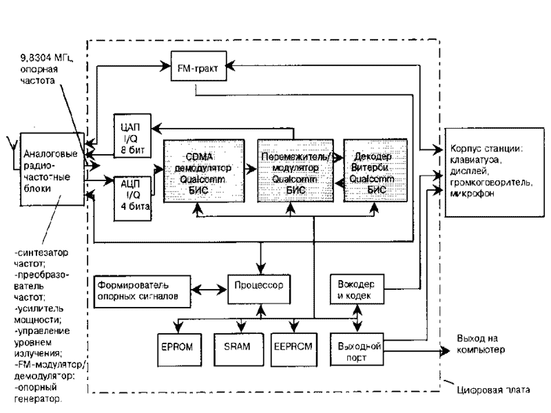
Состав оборудования сетей стандарта CDMA во многом сходен с составом оборудования сетей стандарта GSM и включает в себя ПС и БС, цифровые коммутаторы, центр управления и обслуживания, различные дополнительные системы и устройства, функциональное сопряжение элементов системы осуществляется с помощью ряда интерфейсов. Конфигурация сотовой сети и системы стандарта CDMA представлены на двух рисунках ниже.

Конфигурация сети стандарта CDMA

Конфигурация системы стандарта CDMA
Одно из важных требований, предъявляемых к системам второго поколения, — гибкость технологии и возможность ее постепенного развития, проходящего без кардинального изменения существующей инфраструктуры сетей.
Современные сети, базирующиеся на стандарте IS-95, обеспечивают передачу сигнала со скоростью 9,6 кбит/с (с кодированием) и 14,4 кбит/с (без кодирования), тогда как исходные спецификации CDMA One предполагали скорость передачи 8 кбит/с, 13 кбит/с и 8 кбит/с EVRC (Enhanced Variable Rate Vocoder). В настоящее время широко применяется версия стандарта IS-95A.
Версия IS-95B основана на объединении нескольких каналов CDMA, организуемых в прямом направлении (от базовой станции к мобильной). Скорость может увеличиваться до 28,8 кбит/с (при объединении двух каналов по 14,4 кбит/с) или до 115,2 кбит/с (8 каналов по 14,4 кбит/с). Сети на основе IS-95B смогут обеспечивать доступ в Internet до появления систем третьего поколения. Однако для того, чтобы предоставлять услуги пакетной передачи, контроллер БС нужно дооснастить маршрутизатором. В спецификациях стандарта предусмотрено качественное улучшение характеристик обслуживания за счет снижения потерь при переходе абонента от одной БС к другой, а также повышение точности контроля мощности до 0,25 дБ, организация каналов приоритетного доступа и другие усовершенствования.
В версии IS-95C модификации коснулись повышения частотной эффективности и увеличения ёмкости телефонной сети в два раза. Спецификациями предусматривается дополнительный канал с ортогональным сдвигом несущей, по которому может передаваться полный кодовый ансамбль сигналов (т.е. 64 кода Уолша), такой же, как и по синфазному каналу. Системы на базе IS-95C будут обратно совместимы с сетями на основе IS-95A и IS-95B и сохранят прежнюю полосу частот — 1,25 МГц. По сравнению с предыдущими версиями скорость передачи в системе возрастет до 144 кбит/с; при этом сократится энергопотребление терминала.
В настоящее время разрабатывается новая модификация IS-95-HDR (High Data Rate), которая призвана расширить возможности высокоскоростной ПД. В прямом канале передачи, поддерживающем этот стандарт, предполагается повышение скорости до 1 Мбит/с и даже более. В ОК скорость по сравнению с IS-95C не меняется. Возможности, которые предоставит IS-95-HDR, в первую очередь ориентированы на совместную работу с СПД, имеющими асимметричный трафик.

Планирование сети CDMA One

Вторым важным качеством CDMA является интеллектуальная система адаптации базовых параметров сотовой сети: пропускной способности, мощности излучения абонентских терминалов, межстанционного пространственного разнесенного приема (мягкое переключение) и многолучевого когерентного приема (система RAKE), помехозащиты от узкополосных помех. В сети CDMA One используется весьма изощренный алгоритм управления их мощностью излучения с динамическим диапазоном регулировки более 80 дБ с шагом через 1 дБ. При этом через интервалы в 1,25 мс базовая станция регулирует мощность расположенных в зоне ее обслуживания абонентских терминалов. Это позволяет не только поддерживать на одном уровне качество приёма на каждом радиоканале вне зависимости от расстояния абонентского терминала до базовой станции, но и в качестве приятного дополнения позволяет увеличить время работы терминала без подзарядки аккумуляторов.
Зато поскольку в системе CDMA не требуется никакого частотного планирования, а соседние ячейки могут использовать одни и те же радиочастоты, снимается часть проблем, которые являются постоянной головной болью планировщиков сетей других технологий и связаны с необходимость обеспечить оптимальный частотный разнос всех секторов базовых станций.
Сеть CDMA, где базовые станции работают на одних и тех же радиоканалах, не похожа на сети других технологий и функционирует как единый организм. На практике три основных параметра сотовой сети, а именно покрытие, качество и ёмкость, в системе CDMA взаимосвязаны и влияют друг на друга. Таким образом, операторы имеют возможность обеспечения оптимальным обслуживанием заданной территории, варьируя параметры сети. Всё это, вероятно, достаточно сложно для неспециалистов и весьма непривычно для специалистов в области более привычных радиотелефонных технологий. Ну и закономерно вызывало и вызывает на первых порах со стороны последних настороженное отношение.

Помехи сетей CDMA One сетям GSM

В процессе коммерческой эксплуатации в России сотовых сетей технологии CDMA One были выявлены случаи влияния внеполосных излучений отдельных передатчиков базовых станций CDMA One "Сонет" на приёмные тракты базовых станций технологии GSM сети МТС (в диапазоне выше 890 МГц) при близком территориальном расположении антенн обеих систем. С целью исследования этих явлений и выработки мер их устранения в Московском Управлении ГСН (УГСН) в свое было проведено техническое совещание с участием заинтересованных компаний-операторов (УГСН, ЗАО "Мобильные ТелеСистемы" (МТС), ОАО "Персональные коммуникации"). В результате проведенных исследований УГСН и ГСН обязали операторов сетей CDMA One за свой счет в согласованные с МТС сроки установить на выходах передатчиков базовых станций дополнительные полосовые фильтры для снижения уровня внеполосных излучений на 45 дБ. После установки таких фильтров (это не слишком дорогое мероприятие) помеховые влияния со стороны сетей технологии CDMA на приёмники технологии GSM полностью исчезли, о чём, в частности, свидетельствует протокол, подписанный руководством ЗАО МТС и ОАО "Персональные коммуникации".
Для устранения подобных явлений в последующих поставках базовых станций CDMA One был установлен специальный дуплексер, обеспечивающий требуемое подавление внеполосных излучений спектра на частотах работы стандарта GSM (свыше 890 МГц). Таким образом, какие-либо технические препятствия для обеспечения ЭМС РЭС CDMA One с РЭС силовых структур и гражданскими средствами были устранены.

Помехи сетей CDMA One цифровому ТВ

Исходя из того, что к концу 2000-х диапазон 800 МГц планировалось отвести для нужд цифрового телевидения, для чего в России намечено постепенно свести на нет сетей CDMA One и AMPS/DAMPS, следует отметить следующее:
  • В России практически весь диапазон, на первичной основе, занят в настоящее время радиоэлектронными средствами (РЭС) военного и специального назначения, что отмечено, кстати, в документах МСЭ. При этом электромагнитная совместимость (ЭМС) между РЭС военного и специального назначения и РЭС цифрового телевидения не обеспечивается практически во всем диапазоне 800 МГц. В то же время, вывод РЭС военного и специального назначения за пределы диапазона 800 проблематичен из-за неизбежных огромных материальных затрат.
  • Один канал цифрового ТВ занимает полосу не более 8 МГц. Весь выделенный диапазон для размещения основных и резервных каналов цифрового ТВ простирается от 470 до 862 МГц. Между тем, полоса, занимаемая в этом диапазоне сетями стандарта CDMA One, составляет всего 1,23 МГц. Максимальная полоса, которая может потребоваться стандарту CDMA One для обеспечения, например, в полном объеме услуг связи 3G (почему бы и нет, ведь в хозяйстве все может пригодиться) при эволюционном пути развития составляет не более 3×1,23 МГц.
Совершенно очевидно, что есть ли в диапазоне 800 МГц один или даже целых 3 радиоканала CDMA One или их нет вовсе — цифровому ТВ от этого не легче. Даже на один ТВ-канал частот не наскрести. Такими образом, сохранение и развитие в приведенных ограниченных рамках в диапазоне 800 МГц стандарта CDMA One практически не может сдерживать развитие в России цифрового ТВ.

Проблема ближней-дальней зоны

Технология CDMA (и другие системы с расширением спектра) долгие годы не принимались во внимание в подвижных системах беспроводной связи по причине наличия так называемой проблемы ближней-дальней зоны. Поскольку результатом работы приёмника в таких системах является свёртка принимаемого и опорного сигналов, возникала неоднозначность в идентификации сигнала свёртки. Так, например, боковые лепестки сигнала свёртки от близкорасположенного мобильного терминала могут оказаться сравнимыми по амплитуде с основным откликом сигнала свёртки от наиболее удалённого терминала. Поэтому другой наиболее важный момент в технологии CDMA: все подвижные терминалы должны создавать вблизи антенны базовой станции примерно одинаковую напряжённость поля.

Управление мощностью в стандарте CDMA One

Ключевой момент коммерческого CDMA предельно прост: если использовать управление мощностью таким образом, чтобы принимаемая мощность от всех удалённых объектов была эквивалентной, то все преимущества расширения спектра становятся реализуемыми. В предположении, что мощность контролируется, шум и взаимное влияние можно выразить соотношением:
N0 + I0 = N0 + (N — 1)P,
N0 = FNkBTO,     (Выражение 5)
где N — это общее число пользователей. Соотношение сигнал/шум приобретает вид:

Выражение 6
Максимальное число абонентов на базу достигается в том случае, если мощность добавляется ровно настолько, насколько необходимо для обеспечения требуемого отношения сигнал/шум, в точном соответствии с принятым значением вероятности ошибки. Если мы установим значение левой части выражения (6) равным заданному отношению сигнал/шум и решим это выражение относительно N, то получим соотношение для определения ёмкости базовой станции для CDMA:

Выражение 7
Учитывая, что скорость передачи данных в CDMA 9,6 кбод, получим:

Выражение 8
Или, учитывая, что 15,1 дБ — это 5,688, и возводя в квадрат, получим, что число пользователей, приходящихся на одну базовую станцию при соотношении сигнал/шум = 6 дБ, равно 32. Когда в системе предусмотрен контроль мощности, дизайнер системы или оператор имеет возможность выбрать компромисс между соотношением сигнал/шум и максимальным числом одновременных разговоров. Отметим ещё раз, что соотношение сигнал/шум и количество абонентов взаимосвязаны: если увеличить соотношение сигнал/шум на 3 дБ, то допустимое количество абонентов уменьшится вдвое, то есть до 16. В выражении (8) мы пренебрегли разницей между N и N-1. Есть ещё некоторые факторы, которые мы не учли.

В стандарте CDMA One регулировка уровня мощности сигнала, излучаемого подвижной станцией, осуществляется в динамическом диапазоне 84 дБ с шагом 1 дБ. Это обеспечивает возможность приема сигналов подвижных станций базовой станцией с практически одинаковым уровнем мощности независимо от удаления до базовой станции. Чем ближе уровень мощности сигналов от подвижных станций на входе базовой станции к минимальному, соответствующему требуемому качеству связи, тем меньше уровень взаимных помех в системе и, следовательно, тем выше ее емкость.
Высокие требования к регулировке уровня мощности подвижной станции можно отнести к недостатку системы Qualcomm. Вторым недостатком CDMA Qualcomm является необходимость использования одинаковых по размерам сот на всей сети, в противном случае возникают взаимные помехи от сигналов подвижных станций,
которые находятся в соседних сотах разного размера. В этом случае также возникает проблема "эстафетной передачи".

Ёмкость соты сети CDMA One

Дискуссия вокруг выражения (8) предполагала только одну ячейку, не учитывая интерференции с соседними. Можно задать вопрос, в чём же мы выигрываем? Емкость изолированной AMPS-ячейки даже больше. На самом деле, ничто не мешает использовать все частотные стволы (по 1,25 МГц) внутри одной соты. Таким образом, если мы проведём приближенное сопоставление, то для AMPS ёмкость "ромашки" из семи сот равна произведению числа абонентов на соту (59) на 7, то есть 413. Аналогичная ёмкость для CDMA равна произведению числа абонентов на соту (32) на число частотных стволов (10) и на число сот (7), то есть 2240. Отношение ёмкости CDMA к AMPS составляет 5,4. Однако, если учесть интерференцию с соседними сотами в выражении (3), то это отношение уменьшится до 4,4. Помимо возможности одновременного использования всех десяти частотных стволов, в CDMA применяется секторизация сот. Это усовершенствование позволяет увеличить сравнительное отношение ёмкости CDMA и AMPS до 13 раз.
Помехи, создаваемые другими абонентскими станциями и другими базовыми станциями, представляют собой фактор, в конечном итоге определяющий верхний порог пропускной способности сети стандарта СDМА. При разработке сети с кодовым разделением каналов необходимо свести к минимуму общий уровень помех.
Пусть в соте находятся К активных абонентов, все подвижные станции работают в общей полосе частот F, скорость передачи сообщений постоянна и равна С, чувствительность приемника базовой станции — Р0, уровень фонового шума — Рш. Тогда отношение сигнал/шум на входе приемника базовой станции (Рвх) определится выражением:

Р0/Pвх = Р0 / (К-1) × P0 + Pш,
где (К-1) × Р0 — уровень сигналов от других активных станций.

Отношение энергии бита (Е0) информационного сигнала к спектральной плотности шума (N0) может быть определено выражением:
Учитывая, что отношение F/C численно равно базе сигнала В, Pш / P0 << 1, количество активных абонентов в соте системы CDMA определяется выражением:
при условии, что уровни сигналов от всех абонентских станций на входе базовой станции будут приблизительно равны и близки к минимальным (Ð0).

Ёмкость сети CDMA One

Стандарт CDMA обеспечивает большую емкость сети по сравнению с традиционными аналоговыми сотовыми сетями. Увеличение емкости может быть достигнуто двумя способами:
  • Увеличением количества каналов на МГц выделенной полосы частот;
  • Увеличением повторного использования каналов связи на данной территории.
Примером второго подхода является переход от частотного разделения каналов к временному, что реализовано в стандарте GSM. Допустимое отношение сигнал/помеха в каналах GSM составляет 9 дБ вместо 17—18 дБ для аналоговых систем, что позволяет обеспечить повторное использование частот при меньшем территориальном разносе базовых станции с повторяющимися частотами. Это позволяет увеличить емкость сетей GSM примерно в два раза по сравнению с аналоговым стандартом AMPS (800 МГц). При использовании полускоростного речевого кодека емкость сетей GSM увеличится в 4—5 раз по сравнению с AMPS.
Стандарт CDMA позволяет использовать одну и ту же частоту по всей сети, во всех сотах. Коэффициент повторного использования частот для CDMA равен k=1. В зависимости от того, с каким кластером проводится сравнение (k=7 или k=4), увеличение емкости в этом случае по отношению к AMPS составит 7—10 раз.
Другим фактором, способствующим снижению взаимных помех в системе CDMA и, следовательно, увеличению ее емкости является применение, аналогично GSM, системы прерывистой передачи речи на основе использования детектора активности речи и вокодера с алгоритмом CELP и переменной скоростью преобразования аналогового речевого сигнала в цифровой.
На интервале сеанса связи активная часть разговора составляет около 35%, 65% приходится на прослушивание сообщений с противоположной стороны и паузы. Излучение сигнала подвижной станцией только на интервалах активности речи приводит к дополнительному снижению системных помех и общему увеличению емкости системы CDMA.
Передача сообщений в стандарте IS-95 осуществляется кадрами. Используемые принципы приема позволяют анализировать ошибки в каждом информационном кадре. Если количество ошибок превышает допустимый уровень, приводящий к недопустимому ухудшению качества речи, этот кадр стирается (frame erasure).
С частотой ошибок или "частотой стирания битов" однозначно связано отношение энергии информационного символа к спектральной плотности шума Eo/No. На рисунке ниже приведены зависимости вероятности ошибки в кадре (Prob. Frame Error) от величины отношения Eo/No (белый шум) для прямого и обратного каналов с учетом модуляции, кодирования и перемежения.
При увеличении количества активных абонентов в соте из-за взаимных помех отношение Eo/No снижается, а частота ошибок увеличивается. В этой связи разные фирмы принимают свои допустимые значения частоты ошибок. Например, фирма Motorola считает допустимой для CDMA частоту ошибок в 1%, что соответствует с учетом замираний отношению Eo/No = 7—8 дБ. При этом пропускная способность систем CDMA в среднем в 15 раз превышает пропускную способность аналоговых систем AMPS.
Фирма Qualcomm за допустимую величину частоты ошибок принимает значение 3%. Это является одной из причин, по которым Qualcomm заявляет, что емкость CDMA в 20—30 раз превышает емкость аналоговых AMPS.
По некоторым данным, отношение Eo/No = 7—8 дБ и допустимая частота ошибок в 1% позволяет организовать 60 активных каналов на трехсекторную соту. Зависимость количества активных каналов связи (ТСН) для обратного канала от величины отношения Ео/No для 3-х секторной соты показана на рисунке ниже.

Пропускная способность сети CDMA One

Есть у технологии CDMA такие полезные потребительские свойства, как возможность повышения пропускной способности сети в час наибольшей нагрузки. В отличие от всех других технологий сотовой связи 1G и 2G с жестко фиксированным количеством каналов трафика на каждой базовой станции, в технологии CDMA количество предоставляемых каналов трафика может увеличиваться при незначительном и кратковременном снижении качества обслуживания в час наибольшей нагрузки. Так, например, пропускная способность базовой станции технологии CDMA может возрасти не менее чем на 15% при увеличении количества ошибок по принятым кадрам с 1% до 3%. Однако известно, что при таком возрастании количества ошибок по принятым кадрам качество передаваемой речи практически не ухудшается. Только при возрастании количества ошибок свыше 5% отмечается незначительное снижение качества связи. Заметим, что при этом получается увеличение пропускной способности более чем на 20%.

Обеспечение подвижности абонентов

Начнем с того, что даже самый первый стандарт CDMA — IS-95 (CDMA One), изначально разрабатывался и разработан как стандарт именно подвижной связи и изобилует упоминанием слова "mobile". Поэтому остановить "бегущего слона", оперируя понятиями типа "фиксированный самолет", непросто. Что уж говорить о его потомках и других широкополосных родственниках типа W-CDMA и CDMA-2000. К тому же именно технология CDMA позволяет осуществлять наиболее качественное и незаметное для абонента переключение управления при перемещении абонента между сотами (так называемое мягкое переключение или мягкая эстафетная передача), что так ценится компаниями-операторами и абонентами.
Здесь следует отметить ключевую роль механизмов эстафетной передачи, как неотъемлемого механизма обеспечения работоспособности сети технологии CDMA (при использовании других технологий режим эстафетной передачи может как иметь место, так и отсутствовать, превращая "подвижную" сотовую сеть в "фиксированную"). Как известно, отсутствие этих механизмов в системе CDMA приведет к резкому падению ёмкости сети и качества обслуживания абонентов , к ухудшению экологичности и повышенному расходу ёмкости батарей абонентского терминала.
Именно эстафетная передача, по существу, и обеспечивает возможность работы отдельных базовых станций и секторов базовых станций сотовой сети технологии CDMA, на одной и той же частоте. Только для случаев строительства "изолированных" друг от друга односекторных базовых станций в далеко (на десятки километров) расположенных друг от друга населенных пунктах, можно было бы работать без механизма эстафетной передачи. Но для таких случаев, конечно же, нет никакого смысла использовать технологию CDMA, поскольку здесь могут быть использованы более эффективные частные решения, основанные на более простых технологиях. Следует заметить, что при развертывании сетей CDMA в регионах с высокой и средней плотностью абонентов в условиях городской и сельской застройки (где необходимо использовать более одной базовой станции), то перекрытие их зон обслуживания просто неизбежно. При этом для значительной части абонентов, особенно расположенных на средних и верхних этажах зданий, маловероятно определенно предсказать, от какой базовой станции в это место придет наибольший сигнал, уровень которого, к тому-же, зависит от изменений окружающей среды. Поэтому "жёсткое закрепление" абонента только за данной базовой станцией, что равносильно "отмене" механизма эстафетной передачи, привело бы к снижению ёмкости, качества и надежности связи в сети технологии CDMA. В общем, соты сети CDMA "дышат" в зависимости от расположения обслуживаемых абонентов, а этом случае часть наиболее удаленных от центра абонентов может попросту "выпасть" из зоны обслуживания одной базовой станции и не будет подхвачена соседней, что, мягко говоря, нехорошо для обеспечения надежности связи.
Абонентский терминал CDMA One имеет несколько демодуляторов, что позволяет принимать разнесенные сигналы при многолучевом распространении, а также поддерживать связь с несколькими базовыми станциями одновременно.
При многолучевом приеме (переотражение от зданий и пр.) случае сигналы выравниваются во времени и складываются, что улучшает качество приема. То есть то, что для систем FDMA или TDMA плохо (они выбирают принятый сигнал с наибольшим уровнем и довольствуются только им), для CDMA — хорошо.
При переезде из одной соты в другую абонентский терминал, используя, например, два демодулятора, работает одновременно с двумя базовыми станциями, сигналы от которых поступают на сетевой коммутатор (контроллер), где из обоих каналов связи каждые 20 мс выбирается наилучший речевой пакет. То есть весь процесс абсолютно незаметен для абонента сети. Вот это и есть "мягкое" переключение.
В самом деле, если убрать эстафетную передачу, то сигналы от соседних базовых станций сети CDMA будут не помогать приему, улучшая соотношение сигнал-шум, а создавать конкретную дополнительную помеху. А одновременная работа с несколькими базовыми станциями делает вообще неважным сам факт перемещения между сотами. Зато в сетях других стандартов процесс передачи вызова от соты к соте является не всегда качественным, в результате чего происходит ухудшение качества или даже прерывание связи. Дело в том, что центр коммутации сотовой сети поддерживает связь (соединение) только между одной базовой станцией и абонентом. Когда же абонент начинает перемещаться в соседнюю соту, центр коммутации организует новый канал связи через соседнюю базовую станцию и в определенный момент времени (при заданном соотношении уровней сигналов от соседних базовых станций) принимает решение о переключении каналов (так называемое "жесткое переключение" или "жёсткая эстафетная передача"). Неприятность тут в том, что линия связи с одной базовой станцией разрывается до того, как установится новая линия связи с другой базовой станцией. В результате в течение некоторого интервала времени абонентский терминал не связан ни с одной базовой станцией. Иногда абонентский терминал перебрасывается базовыми станциями как теннисный мячик. Вот этот момент обычно ощутим для абонента в виде кратковременной (или не очень) помехи, шума, а иногда он заканчивается и обрывом связи. Для исключения таких ситуаций разработчики сотовых систем связи вынуждены предпринимать дополнительные усилия.
Так можно ли исключить подвижность, не трогая эстафетную передачу? Наверное, всё же можно. Но для этого в рамках системы сотовой связи CDMA необходимо создать, например, дополнительную систему сигнализации, чтобы не позволять абонентам входить в связь в тех сотах, где они "не прописаны". Поскольку, как представляется, идея превращения "подвижной" сети в "фиксированную" до сих пор ещё не овладела ни одним поставщиком оборудования CDMA One, такая новая разработка, скорее всего, "влетит в копеечку". Впрочем, мы не будем дискутировать не тему, кто должен за это платить. Заметим лишь, что, например, для осуществления более гибкого биллинга с дифференциацией тарифов для "подвижных" и "фиксированных" абонентов указанные возможности были бы полезны оператору сети CDMA и позволили бы ему регулировать соотношение тех, кто стоит на месте или перемещается по всей зоне обслуживания сети. Вероятно, задавшись целью фиксации абонентов, можно делать и другие разработки, но... это будет уже не стандарт IS-95.

Конфиденциальность связи в стандарте CDMA One

Безопасность или конфиденциальность является свойством технологии CDMA, поэтому во многих случаях операторам сотовых сетей не требуется специального оборудования шифрования сообщений.
Стандарт IS-95 обеспечивает высокую степень безопасности передаваемых сообщений и данных об абонентах. Прежде всего он имеет более сложный, чем GSM, радиоинтерфейс, обеспечивающий передачу сообщений кадрами с использованием канального кодирования и перемежения с последующим "расширением" передаваемых сигналов с помощью составных ШПС, сформированных на основе 64 видов последовательностей Уолша и псевдослучайными последовательностями с количеством элементов 215 и (242-1).
Безопасность связи обеспечивается также применением процедур аутентификации и шифрования сообщений.
Процедура аутентификации в стандарте IS-95 соответствует процедуре аутентификации стандарта D-AMPS, EIA/TIA/IS-54B.
В подвижной станции хранится один ключ А и один набор общих секретных данных, которые используются при работе как в режиме с частотным разделением каналов, так и в режиме СDМА. Подвижная станция может передавать "цифровую подпись" для аутентификации, состоящую из 18 бит. Эта информация передается в начале сообщения (в ответе подвижной станции на запрос сети при поиске станции), добавляется к регистрационному сообщению или пакету данных, передаваемых по каналу доступа. Предусматривается возможность обновления общих секретных данных в подвижной станции.
Шифрование сообщений, передаваемых по каналу связи (ТСН), осуществляется также с использованием процедур стандарта IS-54B.
В стандарте IS-95 используется также режим "частный характер связи", обеспечиваемый с помощью секретной маски в виде длинного кода. Этот процесс также аналогичен процессу формирования маски в виде длинного кода, который описан в стандарте IS-54B.

Коротко говоря, конфиденциальность, как, впрочем, и скрытность связи, максимальная из всех технологий подвижной связи.
Это обусловлено типом используемого радиосигнала с широкой базой
D=BT=100,
где:
D — база или коэффициент сжатия сигнала;
В — полоса сигнала CDMA One в эфире (МГц);
Т — длительность информационной посылки (мкс).

Обнаружить сам факт наличия такого сигнала специальными средствами в эфире гораздо сложнее, чем "простых" узкополосных сигналов, используемых в стандартах GSM, DAMPS, NMT, поскольку спектральная плотность мощности сигнала CDMA One в эфире получается на 20дБ ниже при равных скоростях передачи информации и мощности передатчика. Следует попутно отметить, что именно благодаря использованию такого "широкобазового" типа сигнала в радиоинтерфейсе технологии CDMA обеспечивается максимальная надежность связи в условиях многолучевых замираний по сравнению с технологиями стандартов GSM, DAMPS, NMT.
Наивысшая конфиденциальность связи обусловлена многоступенчатым кодированием, расшифровка которого потребует попросту нескольких весьма напряженных лет упорного труда. Так, если сигналы аналоговых стандартов можно прослушать самыми простыми измерительными приёмниками, которые свободно продаются в магазинах, то для прослушивания с эфира сигналов сигналов стандартов GSM и DAMPS поставляется уже более совершенная аппаратура радиоконтроля.
Что касается обнаружения из эфира сигналов технологии CDMA, то из-за их повышенной криптостойкости и скрытности под шумами эта задача является архисложной. Интересно, что совокупность таких качеств, как криптостойкость, помехоустойчивость и помехозащищенность в сочетании с пониженным расходом ёмкости аккумуляторной батареи было бы целесообразным применять технологию CDMA для нужд силовых структур и ведомств.

Экологичность CDMA One

Экологичность абонентского терминала — это то, чем наконец-то серьезно озаботилось в последние годы человечество. Наверное, как это уже бывало ранее (с радиацией, с различной химией и пр.), реальные результаты массового "знакомства" человечества с сотовой связью будут известны еще нескоро. Поэтому наименьшая степень облучения всегда более приятна, чем та, что побольше, хотя и в пределах существующих норм. Как известно, проводимые в течении 6 лет медицинские исследования выявили факт тройного увеличения риска опасных заболеваний мозга при использовании сотового телефона с повышенной мощностью излучения. Американским Институтом электро- и радиоинженеров разработан стандарт 802.11, устанавливающий нормы на характеристики сетей глобальной подвижной связи. В соответствии с этим стандартом мощность излучения портативного абонентского терминала из соображений охраны здоровья не должна превышать 10 мВт. Как известно, паспортная максимальная мощность абонентских терминалов, используемых в сотовых сетях стандартов NMT, GSM, AMPS/DAMPS, CDMA One составляет соответственно 3 Вт; до 2 Вт; 0,6 Вт и более; 0,2 Вт .
Приведенный ряд максимальных мощностей потенциально отражает наивысшую чувствительность приёмников CDMA за счёт использования самых эффективных методов обработки сигналов (когерентный приём многолучевых сигналов). Правда, для случая стандарта GSM, нужно ввести поправку на более высокую скорость передачи информации по радиоинтерфейсу.
Однако указанная выше максимальная величина мощности излучения абонентского терминала CDMA One в 200 мВт могла бы иметь место (за счёт действии автоматической регулировки мощности абонентского терминала по поддержанию энергетического баланса между прямым и обратным каналами базовой станции) только в случае максимальной разрешённой мощности на передатчике базовой станции (20 Вт), при отсутствии разнесённого приема на базовой станции и без учета энергетического выигрыша за счёт механизма эстафетной передачи для абонентов на краю зоны обслуживания. Вместе с тем, согласно разрешительным документам Главгоссвязьнадзора (ГСН) России, допустимая мощность излучения базовых станций технологии CDMA была снижена относительно максимально-возможной в 2,5—10 раз по разным регионам России. В результате, с учетом применения в России на всех базовых станциях сетей технологии CDMA разнесенного приема (что в "релеевском" канале дает выигрыш в 3—5 раз по мощности и что, к примеру, подтверждено экспериментально на московской сети CDMA One "Сонет"), а также, принимая во внимание дополнительный энергетический выигрыш в 4 дБ (2,5 раза) для абонентов на краю зоны обслуживания (у них-то как раз мощность передачи максимальна) за счёт действия механизма эстафетной передачи, получаем, что даже максимально возможная мощность излучения абонентского терминала технологии CDMA при любой зоне обслуживания не превышает допустимой медицинской нормы 10 мВт, а именно: 200 мВт: 2,5 : 4 : 2,5 = 8 мВт. Как известно, наибольшее облучение абонента будет наблюдаться на краю зоны обслуживания, поскольку при приближении к базовой станции мощность излучения абонентских терминалов автоматически снижается (правда, в разных пределах и с разным шагом).
Вместе с тем, из известно, что требуемое для качественной работы системы типовое отношение сигнал/шум на приеме базовой станции составляет 6 дБ, 9 дБ и 16 дБ соответственно для стандартов CDMA One, GSM, DAMPS. В результате, принимая во внимание, что стандарты GSM и DAMPS не поддерживают режим мягкой эстафетной передачи и, следовательно, не имеют выигрыша в 4 дБ для абонентов, находящихся на краю зоны обслуживания, а на их базовых станциях применяется разнесённый приём, максимальные мощности абонентских терминалов для этих стандартов будут соответственно в 5 и 25 раз больше, чем у абонентских терминалов CDMA One. Отметим, что при этом еще не учтено возрастание максимальной мощности абонентских терминалов этих стандартов из-за работы базовых станций с максимальной штатной мощностью, а не пониженной в 2,5 раза, как это имеет место в CDMA One. Что уж говорить, что по сравнению с абонентскими терминалами стандарта NMT выигрыш еще более впечатляющий.
Таким образом, получается, что только абонентские терминалы технологии CDMA (в нашем случае это CDMA One) обеспечивают выполнение требуемых медицинских норм по максимально-допустимой мощности излучения вне зависимости от радиуса зоны обслуживания базовых станций сотовой сети связи. Если перевести вышесказанное в шутку, то превзойти этот результат абонентский терминал, выполненный по другой технологии, может только в выключенном состоянии.

Кодирование речи в стандарте CDMA

В стандарте сотовой связи CDMA применяется метод многостанционного доступа с кодовым разделением каналов, основанный на использовании широкополосных сигналов. Каждому вызову присваивается уникальный код, позволяющий отличить этот вызов от других, передаваемых в том же частотном диапазоне. В этом стандарте обеспечивается более высокое качество речи, чем в стандарте GSM. Это во многом определяется применением кодирования речи.
В системе CDMA для преобразования аналогового речевого сигнала в цифровой используется вокодер с переменной скоростью кодирования, в основу работы которого положен алгоритм с ЛП кода — CELP. Этот алгоритм учитывает особенности человеческой речи. Вокодер перекодирует цифровой поток, имеющий скорость 64 кбит/с, в поток со скоростью 8 или 13 кбит/с. В ходе этого преобразования информационный поток делится на кадры, и содержащие паузы интервалы удаляются. Результирующий поток имеет скорость от 1 до 8 кбит/с. Вокодер приемной стороны объединяет кадры в единый поток и делает обратное преобразование. Другой важной особенностью вокодера с переменной скоростью кодирования является использование адаптивного порога для определения требуемой скорости кодирования данных. Уровень порога изменяется в соответствии с фоновым шумом. Результатом этого является подавление фона и улучшение качества речи даже в шумной обстановке. Вокодер позволяет подмешивать в речевой канал вторичный трафик, т.е. служебную информацию.
Важным моментом для уменьшения взаимной интерференции каналов от различных абонентов является кодирование речи. Кодирование позволяет существенно уменьшить среднюю мощность передатчика.
Известно, что человеческая речь — это прерывистый источник сигнала. Из измерений фирмы Bell Laboratories следует, что активность речи составляет 35-40% от общего ресурса времени. Если использовать этот фактор, то можно ещё в два или более раз увеличить ёмкость сети. На практике этот коэффициент активности составляет 50% благодаря тому, что в период молчания подвижные и базовая станции должны поддерживать физический канал связи, и мощность не может быть сведена до нуля. Таким образом, преимущество CDMA перед AMPS может достигать 26 раз.

Оценка качества кодирования речи

При оценке качества кодирования и сопоставлении различных кодеков оцениваются разборчивость речи и качество синтеза (качество звучания) речи. Для оценки разборчивости речи используется метод DRT (диагностический рифмованный тест). В этом методе подбираются пары близких по звучанию слов, отличающихся отдельными согласными, которые многократно произносятся рядом дикторов, и по результатам испытаний оценивается доля искажений. Метод позволяет получить как оценку разборчивости отдельных согласных, так и общую оценку разборчивости речи.
Для оценки качества звучания используется критерий DAM (диагностическая мера приемлемости). Испытания заключаются в чтении несколькими дикторами (мужчинами и женщинами) ряда фраз, которые прослушиваются на выходе тракта связи рядом экспертов-слушателей, выставляющих оценки по 5-балльной шкале. Результатом является средняя субъективная оценка, или средняя оценка мнений (MOS). Хотя этот метод является субъективным, его результаты по сопоставлению различных типов кодеков при проведении испытаний одними и теми же группами дикторов и экспертов-слушателей являются достаточно объективными, и на них основываются выводы и решения.
В таблице ниже приведены результаты оценки четырех типов кодеков. Близкие к шкале MOS результаты дает объективный метод оценки качества с использованием понятия кепстрального расстояния (Cepstrum Distance — CD).

Таблица 4. Оценка кодеков речи по шкале MOS
Тип кодекаТемп передачи информации, кбит/сОценка MOS
РСМ644.12
ADPCM133.78
RPE-LTP (стандарт GSM)133.58
VSELP (стандарт D-AMPS)83.44
CELP (стандарт CDMA)4,8
9,6
3
3,7
QCELP (стандарт CDMA)134.02

Существует множество вариантов кодеков речи, из которых приходится выбирать кодек для ССС. Например, при разработке стандарта GSM были исследованы шесть типов кодеков, после чего выбор был остановлен на кодеке RPE-LTP. Работа по выбору типа кодека для стандарта GSM была завершена в 1988 г., а в 1989 г. был предложен метод VSELP, принятый затем в стандарте D-AMPS. Работы по совершенствованию кодекса речи продолжаются и в настоящее время. Обоими стандартами (D-AMPS и GSM) предусмотрено введение полускоростного кодирования, которое сможет увеличить пропускную способность канала связи в два раза. В числе исследуемых вариантов для стандарта D-AMPS рассматривается возможность введения векторного квантователя параметров линейных спектральных пар с расщеплением и межкадровым предсказанием, а для стандарта GSM — использование метода кодирования CELP.

Организация каналов в стандарте CDMA One

В стандарте CDMA One все каналы передачи сигналов от БС называются прямыми, а от мобильной — обратными. Для обратного канала определена полоса частот от 824 до 849 МГц. Для прямого канала — от 869 до 894 МГц. Именно этот признак был положен разработчиками стандарта в основу структуры каналов (см. рисунок ниже).

Структура каналов стандарта CDMA-2000
Прямой и обратный каналы разделены интервалом равным 45 МГц. Пользовательские данные упакованы в канале с пропускной способностью 1,2288 Мбит/с. Нагрузочная способность канала — 128 телефонных соединений со скоростью потока 9,6 кбод. Алгоритм расширения спектра для прямого и обратного каналов различаются. В прямом канале пользовательский поток данных кодируется и сжимается в 2 раза. Далее используется алгоритм перестановки битов (в отечественной литературе существует термин — перемежение). После этого данные сворачиваются с одной из 64-бит псевдослучайных последовательностей ПСП (функций Уолша). Каждому мобильному абоненту назначается фрагмент ПСП, с помощью которого его данные будут отделены от данных других абонентов. Ортогональность фрагментов ПСП обеспечивается синхронной кодировкой всех каналов в соте одновременно (а сами по себе фрагменты являются ортогональными). В системе обеспечен пилотный сигнал (код) для того, чтобы мобильный терминал мог управлять характеристиками канала и выполнять синхронное детектирование. Для глобальной синхронизации сети CDMA в системе используются ещё радиометки от GPS-спутников. В обратном канале использован другой алгоритм формирования спектра, поскольку сигналы от удалённых терминалов достигают базовой станции по различным путям. После предварительного кодирования и сжатия 1/3 и перестановки бит блоки из 6 кодированных символов упаковываются в одну из 64 ортогональных функций Уолша. Таким образом формируется 64-значный сигнал. Четырёхкратное расширение спектра на выходе создаёт поток 1,2288 Мбит/c. Исходная последовательность 307,2 Кбит/с формируется в соответствии с кодами, определёнными для пользователя 242 и базовой станции 215. Сжатие 1/3 и упаковка в функции Уолша приводит к исключительной устойчивости к интерференции. Улучшенная устойчивость к ошибкам совершенно необходима для обратного канала, так как в нём используется некогерентное детектирование и присутствует интерференция с другими мобильными терминалами внутри соты. Другой важный элемент обратного канала — это контроль мощности подвижного терминала. В системе предусмотрено медленное (статическое) управление мощностью и быстрое. Команды быстрого управления посылаются со скоростью 800 бод и встроены в разговорные фреймы. Без быстрого управления мощностью замирания, связанные с распространением радиоволн в структурах с отражающими объектами (стены домов, металлические конструкции и так далее), привели бы к значительному ухудшению характеристик системы. Медленное управление мощностью обеспечивает эквивалентное выравнивание расстояний от мобильных терминалов до базовой станции. Для борьбы с многолучевым распространением и подвижный терминал, и базовая станция используют RAKE-приёмник, использующий корреляционный приём сигналов. На входе приёмника использованы несколько корреляторов, которые сворачивают входную последовательность. При этом опорный сигнал на разные корреляторы подаётся с небольшим сдвигом во времени, соизмеримым с разницей по времени при прохождении радиоволн по различным траекториям. Выходные сигналы корреляторов суммируются. Таким образом, если уровень сигнала свёртки от одного из многолучевых сигналов в текущий момент времени оказывается равным нулю (в результате интерференционной картины распределения поля), то свёртка от задержанного сигнала будет отличной от нуля. Стандартом IS-95 предусмотрены три коррелятора на входе приёмника. Архитектура CDMA предусматривает мягкий "handover". Связь при переходе мобильного терминала из одной соты в другую не разрушается и не прерывается. Мобильный терминал объединяет два сигнала от двух базовых станций наподобие того, как он объединяет два сигнала от одной базовой станции, приходящих по различным траекториям.
В CDMA каналы для передачи с базовой станции называются прямыми (Forward), для приема базовой станцией — обратными (Reverse). Структура каналов в CDMA в стандарте IS-95 показана на рисунке ниже.
Важную роль в системах на базе CDMA играет канал передачи пилот-сигнала (Pilot Channel), который излучается каждой БС непрерывно в широковещательном режиме и может быть принят одновременно всеми МС, расположенными в зоне ее обслуживания. Для установления начальной синхронизации используется синхроканал SYNC. Традиционно передача вызовов с БС на МС осуществляется по вызывному каналу РСН, а многостанционный доступ реализуется по каналу АСН.
Для предоставления разных услуг связи в CDMA используются два типа каналов. Первый из них называется основным (FCH), а второй — дополнительным (SCH). Услуги, предоставляемые через эту пару каналов, зависят от схемы организации связи. Каналы могут быть адаптированы для определенного вида обслуживания и работать с разными размерами кадра, используя любое значение скорости из двух скоростных рядов: RS-1 (1500, 2700, 4800 и 9600 бит/с) или RS-2 (1800, 3600, 7200 и 14400 бит/с). Определение и выбор скорости приема осуществляется автоматически.
В третьем поколении CDMA (cdma2000) сохранена существующая структура каналов, однако число видов каналов увеличено до 15. Прежде всего, введены три дополнительных пилот-сигнала: два вспомогательных в прямом канале — CAPICH и DAPICH и один в обратном — R-PICH. CAPICH используется при наличии на БС разнесенных антенн, DAPICH — при использовании абонентских антенн с узким лучом направленности, а R-PICH выполняет начальную синхронизацию для БС.
Кроме того, для организации связи в прямом и обратном направлениях дополнительно введены общий (СССН) и выделенный (DCCH) КУ, которые по назначению аналогичны каналам РСН (в прямом канале) и АСН (в обратном канале).
В отличие от cdmaOne и cdma2000 в стандартах UTRA (ETSI, Европа) и W-CDMA (ARIB, Япония) предложен иной принцип деления каналов, основанный на учете взаимосвязи между объектами разных иерархических уровней. При этом могут быть выделены три типа каналов: логические; транспортные; физические.
Существуют две группы ЛК: управления ССН и трафика ТСН. По КУ передаются вызывные и служебные сообщения, сигнализация, команды управления мощностью и диаграммой направленности, а по КТ — информационные потоки.
Каналы управления, в свою очередь, подразделяются на общие (СССН) и выделенные (DCCH). В рекомендации МСЭ (ITU-R M.I 035) был также предложен третий тип канала жестко закрепленный, получивший обозначение LCCH (Leash ССН). В настоящее время в системах на базе протокола CDMA он не используется.
Общие каналы СССН предназначены для передачи управляющей информации и сигнализации в режиме, не ориентированном на соединение. Имеются четыре вида таких каналов: широковещательные (ВССН, Broadcast ССН), прямого доступа (FACH, Forward АСH), вызова РСН и произвольного доступа (RACH, Random ACH).
Двухсторонняя радиосвязь между БС и МС осуществляется по двум каналам. В СКК данные передаются по выделенному каналу графика (DTCH), а пакетная информация — по каналу передачи абонентских пакетов (UPCH).
Транспортные каналы, связывающие физический уровень с более высокими, так же, как и логические, подразделяются на две группы: общие ССН, не требующие идентификации МС в рабочей полосе, и выделенные DCH, в которых МС однозначно связана с ФК, т.е. с определенным кодом и частотой. Первые доступны группе абонентов — связь организуется одновременно между БС и несколькими МС, а по выделенному передаются данные или сигнализация.
Одно из различий между проектами W-CDMA и UTRA состоит в разном числе типов выделенных каналов. В W-CDMA один тип — DTCH, а в UTRA их три: DTCH, автономный (SDCCH) и совмещенный (АССН). В канале DTCH предусмотрено быстрое изменение скорости передачи (каждые 10 мс). АССН используется для совместной передачи управляющей информации из потока данных.
Физические каналы определяют качественные показатели и режимы передачи информации. Их главные характеристики — код, частота и фазовый сдвиг. Они также подразделяются на общие (СРСН) и выделенные (DPCH) каналы. По общему каналу управления (ССРСН) передается вызывная управляющая информация. Для передачи символов пилот-сигнала используется отдельный канал синхронизации (SCH).
Для организации связи с конкретным пользователем выделен специальный канал DPCH, по которому передаются как информация абонента, так и управляющие сигналы, вспомогательные пилот-символы управления диаграммой направленности антенны, а также биты управления мощностью и прочие служебные данные.
Уникальность технологии с кодовым разделением каналов состоит в том, что каждый логический канал отображается на физический «индивидуально», с присущими ему скоростью передачи и кодом.
Так как число каналов на сетевом уровне значительно больше, чем на канальном, то в одном транспортном канале обычно объединяют несколько низкоскоростных логических (см. рисунок ниже).

Взаимное отображение физических, транспортных и логических каналов
При переходе от транспортного к физическому уровню каналы тоже можно объединять, при этом принято канал вызова РСН и канал доступа FACH отображать на общий физический канал «вниз», а канал доступа RACH — на общий физический канал «вверх».
Поток данных при передаче информации из одного канала в другой трансформируется на уровне канальных интервалов, кадров и данных сигнализации. Например, канал вызова разделяется на несколько групп в одном суперкадре, и вызывная информация передается в каждой группе.
Метод пакетной передачи, используемый в CDMA-системах, хорошо согласуется с принципом адаптивных каналов, скорость передачи которых изменяется в соответствии с графиком. Если трафик низкоскоростной, то может использоваться один физический канал СРСН для нескольких ЛК (FACH, RACH и др.). Если же трафик достаточно высокоскоростной, то выбирается для передачи ЛК типа UPCH.

Канальное кодирование в стандарте CDMA One

Кодирование в прямом канале.
В ССС стандарта CDMA используются различные виды кодирования. На рисунке ниже изображена схема кодирования в прямом канале (от БС к абоненту). Базовая скорость ПД в канале составляет 9,6 кбит/с, что достигается добавлением дополнительных корректирующих двоичных символов к цифровому потоку вокодера 8,55 кбит/с. Для реализации на приемной стороне прямой коррекции ошибок (без повторной передачи сообщения) в канале используется избыточное кодирование. Для этого базовый цифровой поток разбивается на пакеты длительностью по 20 мс и подается на сверточный кодер с половинной скоростью. На его выходе число битов удваивается. Затем данные перемежаются во временном интервале 20 мс.

Кодирование в прямом канале стандарта CDMA
После перемежения цифровой поток преобразуется с помощью длинного кода и логической операции «исключающее ИЛИ» (сложение по модулю два). Длинными кодами (кодами максимальной длины) являются коды, которые могут быть получены с помощью регистра сдвига или элемента задержки заданной длины. Максимальная длина двоичной последовательности, которая может быть получена с помощью генератора, построенного на основе регистра сдвига, равна 2n-1 двоичных символов, где n — число разрядов регистра сдвига. В аппаратуре стандарта CDMA длинный код формируется в результате нескольких последовательных логических операций с псевдослучайной двоичной последовательностью, генерируемой в 42-разрядном регистре сдвига, и двоичной 32-битовой маской, которая определяется индивидуально для каждого абонента. Такой регистр сдвига применяется во всех БС этого стандарта для обеспечения режима синхронизации всей сети. Так как информационный поток имеет скорость 19,2 кбит/с, то в прямом канале используется только каждый 64-й символ длинного кода.
Следующий этап преобразования сообщения — кодирование с помощью кодов Уолша. Один ряд матрицы Уолша ставится в соответствие каналу связи между абонентом и БС. Если на входе кодера «0», то посылается соответствующий ряд матрицы (код Уолша), если «1» — посылается последовательность, сформированная путем логического отрицания соответствующего ряда матрицы (кода Уолша). Это повышает скорость информационного потока с 19,2 кбит/с до 1,2286 Мбит/с. Соответственно расширяется и спектр сигнала.
На заключительном этапе двоичный поток разделяется между синфазным и квадратурным каналами (I- и Q-каналами) для последующей передачи с использованием квадратурной фазовой манипуляции (QPSK). До подачи на смесители цифровой поток в каждом из каналов преобразуется с помощью короткого кода и логической операции «исключающее ИЛИ». Короткий код представляет собой псевдослучайную двоичную последовательность длиной 32768 двоичных символов, генерируемую со скоростью 1,3288 Мбит/с. Эта последовательность является общей для всех БС и ПД в сети. Короткий код формируется в 15-разрядном регистре сдвига с линейной обратной связью. Результирующий двоичный поток в каждом канале проходит через цифровой фильтр с конечной импульсной характеристикой (КИХ-фильтр), что позволяет ограничить полосу излучаемого сигнала. Частота среза фильтра составляет около 615 кГц. Полученные аналоговые сигналы поступают на соответствующие входы I/Q-модулятора. Ряд информационных сигналов образуется путем слияния I- и Q-каналов.
Поскольку все пользователи получают объединенный сигнал, то для выделения информации необходимо передавать опорный сигнал по пилотному каналу. В пилотном канале передается нулевой информационный сигнал, код Уолша для этого канала формируется из нулевого ряда матрицы Уолша. Другими словами, в пилотном канале передается только короткий код. Обычно на нём излучается около 20% общей мощности. Опорный сигнал необходим для последующей фазовой демодуляции. Короткий код позволяет многократно использовать в каждой ячейке один и тот же набор кодов Уолша. Каждая БС имеет свой временной сдвиг при формировании кода и поэтому может быть однозначно определена в сети. Основано это на свойстве псевдослучайных двоичных кодов: значение автокорреляционного момента приближается к нулю для всех временных смещений более одной длины бита.
Прямой канал CDMA состоит из пилотного сигнала, канала синхронизации, до семи пейджинговых каналов и до 63 каналов трафика. Пилотный сигнал даёт возможность мобильному терминалу принимать временные метки, обеспечивая фазовую синхронизацию для когерентного детектирования. По пилотному сигналу мобильные терминалы получают возможность определять относительные уровни сигналов от каждой базовой станции и принимают решение, когда и к какой базовой станции подключаться. Канал синхронизации передаёт синхросигналы мобильным терминалам со скоростью 1200 бод. Пейджинговые каналы используются для передачи контрольной информации и других сообщений и работают со скоростью 9600, 4800, 2400 бод. Прямой канал трафика передаёт любые пользовательские данные со скоростью 9600, 4800, 2400, 1200 бод.
Данные в прямом канале трафика группируются в фрейм длительностью 20 мс. Пользовательские данные после предварительного кодирования и форматирования перемежаются с целью регулирования текущей скорости передачи данных, которая может изменяться. Затем спектр сигнала расширяется путём свёртки с функцией Уолша и псевдослучайной последовательностью до значения 1,2288 Мбит/с.

Прямые каналы в СDМА:
  • Ведущий канал — используется подвижной станцией для начальной синхронизации с сетью и контроля за сигналами базовой станции по времени, частоте и фазе.
  • Канал синхронизации — обеспечивает идентификацию базовой станции, уровень излучения пилотного сигнала, а также фазу псевдослучайной последовательности базовой станции. После завершения указанных этапов синхронизации начинаются процессы установления соединения.
  • Канал вызова — используется для вызова подвижной станции. После приема сигнала вызова подвижная станция передает сигнал подтверждения на базовую станцию, после чего по каналу вызова на подвижную станцию передается информация об установлении соединения и назначении канала связи. Канал персонального вызова начинает работать после того, как подвижная станция получит всю системную информацию (частота несущей, тактовая частота, задержка сигнала по каналу синхронизации).
  • Канал прямого доступа — предназначен для передачи речевых сообщений и данных, а также управляющей информации с базовой станции на подвижную.

Кодирование в обратном канале.
В ОК (от абонента к БС) применяется другая схема кодирования (см. рисунок ниже).

Кодирование в обратном канале стандарта CDMA
ПС не может использовать преимуществ трансляции опорного сигнала. В этом случае необходимо было бы передавать два сигнала, что значительно усложнило бы демодуляцию в приемнике БС. В ОК применяется такой же, как и в прямом, вокодер и сверточное кодирование со скоростью 1/3, что повышает скорость ПД с 9,6 до 28,8 кбит/с, и перемежение в пакете длительностью 20 мс. После перемежения выходной поток разбивается на слова по шесть бит в каждом. Шестибитовому слову можно поставить в соответствие один из 64 кодов Уолша. Таким образом, каждый AT использует весь их набор. После этой операции скорость потока данных повышается до 307,2 кбит/с. Далее поток преобразуется с помощью длинного кода, аналогичного используемому БС. На этом этапе происходит разделение пользователей. Абонентская емкость системы определяется ОК. Для ее увеличения применяется регулирование мощности в ОК, методы пространственного разнесения приема на БС и др. Окончательное формирование потоков данных происходит таким же образом, как и в БС, за исключением дополнительного элемента задержки на 1/2 длительности символа в 0-канале для реализации смещённой QPSK.
Пользовательские данные в обратном канале сгруппированы в фреймы длительностью 20 мс. Все данные в обратном канале кодируются сворачивающим кодеком, перемежаются и кодируются 64-значной ортогональной последовательностью. До передачи происходит расширение спектра. Процедуры перемежения, ортогональной модуляции, расширения спектра похожи на аналогичные для прямого канала, поэтому их описание опущено.

Обратные каналы в СDМА:
  • Канал доступа — обеспечивает связь подвижной станции с базовой станцией, когда подвижная станция еще не использует канал трафика. Канал доступа используется для установления вызовов и ответов на сообщения, передаваемые по каналу вызова (Paging Channel), команды и запросы на регистрацию в сети. Каналы доступа совмещаются (объединяются) с каналами вызова.
  • Канал обратного трафика — обеспечивает передачу речевых сообщений и управляющей информации с подвижной станции на базовую станцию.

Процедуры вызовов в сетях CDMA One

После включения питания подвижной станции (ПС) настраивается на рабочую частоту сети и ищет сигнал базовой станции (БС) (в сети используется общий для всех БС и ПС короткий код). Она обнаруживает несколько сигналов разных БС, которые можно различить по временному сдвигу в коротком коде. ПС выбирает сигнал с большим уровнем и, таким образом, получает когерентную опору для осуществления последующей демодуляции сигнала синхронизации. Этому сигналу поставлен в соответствие 32-й код Уолша. В нем передается информация о будущем содержании 42-разрядного регистра сдвига, используемого для формирования длинного кода. Эта информация посылается с опережением относительно информационного канала на 320 мс. Поэтому ПС имеет достаточно времени для декодирования сообщения и загрузки информации в регистр. Таким образом достигается ее синхронизация с сетевым временем. После этого ПС начинает мониторинг одного из каналов вызова.
Для формирования длинного кода используется двоичная маска, параметры которой индивидуальны для каждой БС сети. Если одновременно несколько пользователей пытаются осуществить соединение, то возникает конфликт. Если БС не подтверждает попытку соединения по каналу вызова, то абонентская станция выжидает произвольное время и делает следующую попытку. После принятия вызова подвижной станции БС назначает канал для соединения, имеющий соответствующий код Уолша. После этого ПС изменяет параметры двоичной маски в соответствии со своим идентификационным номером и переходит в режим приема и передачи речевой информации. Установление входящего вызова происходит согласно диаграмме, представленной на рисунке ниже.

Установление входящего вызова
В таблице ниже показана процедура установления входящего вызова к подвижной станции.
Подвижная станцияНаправлениеБазовая станция
Принимает Поисковое сообщение← Канал вызоваПередает Поисковое сообщение или Разделенное поисковое сообщение (MIN).
Передает Ответ на поисковое сообщение (МIN,ESN).→ Канал доступаПринимает Ответ на поисковое сообщение.
Настраивается на назначенный информационный канал, используя общий длинный код.
Начинает передавать незначащие данные по каналу прямого трафика.
Принимает Сообщение о назначении канала.
Настраивается на назначенный канал связи, используя общий длинный код.
Принимает N последовательных кадров от базовой станции.
Начинает передавать преамбулу канала связи каналу обратного трафика.
← Канал вызоваПередает Сообщение о назначении канала (ESN, канал CDMA, код канала).
Принимает преамбулу канала связи от подвижной станции.
Принимает команду о подтверждении базовой станции.
Начинает обрабатывать принятые пакеты с запросами на обслуживание и передавать данные по каналу обратного трафика.
← Канал прямого трафикаПередает команду о подтверждении базовом станции.
Принимает Сигнал готовности с информационным сообщением.← Канал прямого трафикаПередает Сигнал о готовности с информационным сообщением (сигнал посылки вызова, CNI-номер вызывающего абонента)
Передает подтверждение
Подает вызывной сигнал к подвижной станции.
Выводит информацию CNI на табло подвижной станции.
(абонент отвечает на вызов)
Снимает подачу сигнала посылки вызова к подвижной станции.
→ Канал обратного трафикаПринимает подтверждение.
Передает Команду о соединении
Начинает передавать информационные пакеты с подтверждением об обслуживании.
→ Канал обратного трафикаПринимает Команду о соединении.
Принимает подтверждение← Канал прямого трафикаПередает подтверждение.
(разговор абонентов)(разговор абонентов)

Если абонент производит установление исходящего вызова, то его станция будет пытаться осуществить соединение с базовой по одному из каналов доступа (см. рисунок ниже).

Установление исходящего вызова

В таблице ниже показана процедура прохождения исходящего вызова от подвижной станции.
Подвижная станцияНаправлениеБазовая станция
Обнаруживает вызов, посылаемый пользователем подвижной станции.
Передает начальное сообщение (ESN, MIN, набранные знаки номера)
→ Канал доступаПринимает начальное сообщение,
Настраивается на назначенный канал трафика, используя общий длинный код по обратному каналу трафика.
Начинает передавать незначащие данные канала трафика по прямому каналу.
Принимает Сообщение е назначении канала.
Настраивается на канал трафика, используя общий длинный код.
Принимает N последовательных действительных кадров от базовой станции.
Начинает передавать преамбулу канала трафика.
← Канал вызоваПередает Сообщение о назначении канала (ESN, канал CDMA, кодовый канал).
Удостоверяет MIN и ESN подвижной станции.
Принимает преамбулу канала трафика от подвижной станции.
Принимает Команду о подтверждении базовой станции.
Начинает передавать пакеты трафика к опции услуг 1 и от опции услуг 1.
← Прямой канал трафикаПередает Команду о подтверждении базовой станции.
Возможная процедура (по выбору)
Передает Продолжение начального сообщения.
→ Обратный канал трафикаПринимает Продолжение начального сообщения.
Принимает подтверждение.← Прямой канал Передает подтверждение.
Возможная процедура (по выбору)
Принимает команду Запрос перехода на частный длинный код.
← Прямой канал трафикаПередает команду Запрос перехода на частный длинный код.
Передает подтверждение вместе с сообщением Принята команда переходе на частный длинный код.
Начинает передавать и принимать информацию, используя частный длинный код.
→ Обратный канал трафикаПринимает сообщение Принята команда о переходе на частный длинный код.
Начинает передавать и принимать информацию используя частный длинный код.
Возможная процедура (по выбору)
Принимает Сигнал готовности вместе с информационным сообщением.
← Прямой канал трафикаПередает Сигнал готовности с информационным сообщением (сигнал контроля посылки вызова)
Передает подтверждение.
Подает сигнал контроля посылки вызова по разговорному тракту.
→ Обратный канал трафикаПринимает подтверждение.
(вызываемый абонент отвечает на вызов)
Возможная процедура (по выбору)
Принимает Сигнал готовности вместе с информационным сообщением.
← Прямой канал * Передает Сигнал готовности вместе с информационным сообщением(молчание).
Передает подтверждение
Отключает сигнал посылки вызова в тракте трафика.
→ Обратный канал трафикаПринимает подтверждение
(разговор абонентов)(разговор абонентов)

Организация эстафетной передачи

Приемники стандарта CDMA предполагают использование нескольких корреляторов одновременно. Приемник с несколькими каналами приема и обработки сигнала получил название Rake-приемника. Он имеет 4 канала приема. В трех каналах одновременно обрабатываются три наиболее сильных сигнала (в четвертом канале постоянно осуществляется поиск сигнала с более высоким уровнем). Эти сигналы складываются, и таким образом в системе с кодовым разделением каналов реализуется метод временного разнесения приема. Многолучевое распространение радиосигналов, с которым приходится бороться всем стандартам сотовой связи, в данном случае становится помощником. В случае построения фиксированных сетей многолучевые отражения позволяют снизить требования к уровню сигнала, приходящего к абонентской станции.
В случае подвижной связи абонентская станция может одновременно принимать и обрабатывать сигналы нескольких БС. Это позволяет осуществлять мягкую эстафетную передачу абонента между БС. Преимущество мягкой передачи заключается в том, что исключается возможность потери связи при движении абонента вдоль границы сот, когда имеет место эффект «пинг-понга». Недостатком такого процесса управления является одновременное использование двух БС.

Базовая станция стандарта CDMA One

Базовая станция одновременно может передавать 64 канала, из которых 2 канала используются для синхронизации, 7 — для персонального вызова (Paging), остальные 55 — для передачи речевых сообщений (Traffic).
Структура каналов передачи базовой станции показана на рисунке ниже.
На рисунке ниже показана схема формирования сигнала передатчиком базовой станции.
Структурная схема приемника подвижной станции показана на рисунке ниже.
Для передачи всех 64 каналов применяется одна и та же псевдослучайная последовательность. В каждом канале при передаче используется одна из 64 последовательностей Уолша. При изменении знака бита информационного сообщения фаза используемой последовательности Уолша изменяется на 180 градусов. Так как эти последовательности взаимно ортогональны, то взаимные помехи между каналами передачи одной базовой станции отсутствуют. Помехи по каналам передачи базовой станции создают лишь соседние базовые станции, которые работают в той же полосе радиочастот и используют ту же самую ПСП, но с другим циклическим сдвигом.
На рисунке ниже показана структурная схема приемника базовой станции.
В системах связи СDМА используются соты с круговой диаграммой направленности антенн или секторные соты (обычно 120-градусные).
На рисунке выше показана типовая структурная схема базовой станции (BTS) для соты с круговой диаграммой направленности антенны с цифровым оборудованием, в состав которого входят канальные блоки. Каждый канальный блок может быть сконфигурирован как информационный канал или как служебный канал. Для синхронизации работы сети используется приемник GPS (глобальная система местоопределения). Сюда входят генератор, формирующий секундные импульсы, и опорный тактовый генератор.
Отсек приемопередатчика преобразует сигналы промежуточной частоты, сформированные в отсеке цифрового блока, в радиочастотный сигнал на несущей частоте и обеспечивает обратное преобразование принимаемого сигнала на промежуточную частоту. В направлении передачи сигнал проходит от приемопередатчика через усилитель мощности и фильтр к передающей антенне. В обратном направлении тракт приема начинается с приемных антенн, фильтра, усилителя с низким коэффициентом шума. Затем в приемопередатчике сигнал преобразуется на промежуточную частоту и поступает в отсек цифрового оборудования. Следует отметить, что передающий и приемные тракты подключаются непосредственно к своим антеннам, что позволяет исключить дорогостоящие сумматоры мощностей и потери мощности при сложении.
Управление режимами работы цифрового оборудования и приемопередатчика осуществляется контроллером соты (СС). Контроллер соты обеспечивает требуемые режимы и алгоритмы работы оборудования внутри соты, назначает и конфигурирует ресурсы BTS для обслуживания нагрузки и вызовов, формирует статистическую информацию о работе соты, контролирует распределение сигналов опорных частот. Он также управляет объединением портов канальных блоков для передачи сообщений в цифровую линию к контроллеру сети (BSC) и центру коммутации подвижной связи (MSC).

Подвижная станция стандарта CDMA One

Фирмы Qualcomm и Motorola разработали двухрежимные CDMA подвижные станции, которые поддерживают связь с существующими сетями аналоговых стандартов с частотной модуляцией (AMPS и N-AMPS). Это обстоятельство дает значительные преимущества абонентам СDМА, так как позволяет использовать свой радиотелефон там, где существующие аналоговые сотовые сети обеспечивают радиопокрытие.
Структурная схема подвижной станции для СDМА фирмы Qualcomm приведена на рисунке выше. Основное отличие между абонентскими станциями СDМА и существующими станциями аналоговых стандартов заключается в добавлении в состав подвижных станций СDМА функций цифровой обработки сигналов, которые реализованы в настоящее время на трех заказных СБИС. Эти три интегральные схемы конструктивно объединяются в одном устройстве.
В подвижных станциях ортогональные сигналы также используются при передаче, но не для уплотнения каналов, а для повышения их помехоустойчивости. В этом случае каждой группе из 6 бит информационного сообщения соответствует при передаче одна из 64 ортогональных последовательностей Уолша. При передаче каждая подвижная станция использует ПСП с разными циклическими сдвигами, что дает возможность базовой станции при приеме разделить сигналы от подвижных станций. Структура каналов передачи подвижной станции показана на рисунке ниже.
Структурная схема формирования сигнала подвижной станцией приведена на рисунке ниже.

Модулятор W(t) преобразует 6 бит в одну из 26 = 64 последовательностей Уолша
ПСП-I/Q-O — универсальная последовательность для всех подвижных станций
Т/T0 = 128

Применение CDMA в системах беспроводной связи типа WiLL

В последние годы значительное внимание уделяется разработкам и внедрению систем беспроводной радиосвязи (WiLL) для обслуживания стационарных абонентов в сельских и труднодоступных районах. В этой области известны разработки фирм Motorola, Alcatel, Siemens и т.д. При определенных условиях, связанных с количеством обслуживаемых абонентов и их удаленностью от телефонных сетей общего пользования (ТФОП), прокладка кабельных линий связи становится экономически неэффективной по сравнению с внедрением радиоканалов для соединения стационарных абонентов с ТФОП. Обычно применение систем WILL считается целесообразным для обслуживания абонентов, удаленных от ТФОП на расстояния от нескольких километров до нескольких десятков километров. Одной из основных тенденций в разработках систем WILL является использование известных стандартов сотовой связи AMPS, N-AMPS, D-AMPS, GSM для топологического построения сетей беспроводной связи и разработки оборудования. При этом многие алгоритмы функционирования сети и принципы построения оборудования связи упрощаются, так как исключаются все процедуры связанные с перемещением абонентов. В результате значительно снижаются стоимость абонентского оборудования и затраты на построение и эксплуатацию сети. Как было отмечено ранее, системы СDМА имеют ряд преимуществ перед существующими сетями сотовой связи и позволяют повысить емкость сетей. Однако достоинства систем СDМА обеспечиваются усложнением процессов функционирования сети и абонентского оборудования, которые становятся незаметными при использовании передовых методов цифровой обработки сигналов, быстродействующих вычислительных средств и современных технологий микроэлектроники. Более сложные процессы функционирования сетей СDМА связаны с необходимостью обеспечения регулировки уровня мощности передатчика абонентской станции в процессе сеанса связи, а также использованием алгоритмов пространственного разнесения при приеме сигналов подвижной станции несколькими базовыми станциями в процессе мягкого переключения (Soft Handoff) с последующей "склейкой" лучших кадров.
Реализация указанных функций в подвижной сети СDМА требует значительных затрат ресурсов связи, организации специальных каналов управления, создает дополнительные системные помехи, что, в совокупности, снижает количество обслуживаемых абонентов в соте.
В варианте сети беспроводной связи для фиксированных абонентов не требуется непрерывного управления регулировкой уровня мощности абонентских станций, уровень излучения может быть зафиксирован один раз при установке абонентской станции. Исключаются процедуры мягкого переключения и пространственного разнесения. Для снижения системных помех используются направленные антенны для абонентских станций (по направлению на базовую станцию). Все это позволяет обеспечить еще большую емкость сети WILL СDМА по сравнению с сетью подвижной сотовой связи.
В целом технология СDМА при использовании ее в сети WILL обеспечивает 18—20 кратное увеличение емкости по сравнению с сетью аналогового стандарта AMPS.
Как было отмечено, СDМА стандарта IS-95 может поддерживать одновременно 60 активных каналов на трехсекторную соту.
Фиксированное размещение абонентских станций, применение направленных антенн в направлении от абонентской станции на базовую станцию позволяет реализовать 60-градусные соты, то есть обеспечить одновременную работу 180 активных абонентов. При нагрузке от одного абонента до 0,025 Эрланга количество абонентов, обслуживаемых одной 60-градусной сотой составит около 7000. Данные результаты подтверждают высокую эффективность использования СDМА для построения систем беспроводной связи с фиксированными абонентами.

Заключение

Системы с прямым расширением спектра, или ещё говорят, шумоподобными сигналами, придуманы не сегодня и даже не вчера. Такие системы связи давно применяются в военной и специальной технике. И тот факт, что сегодня эта техника постепенно переходит в разряд public production, во многом обусловлен огромными успехами в микроэлектронике: цифровой и аналоговой, пассивных устройствах обработки информации. Ряд важных и полезных разработок выполнен Российскими учеными: Воронежским НИИ Радиосвязи, Московским НИИ Радиосвязи, НПО "Алмаз" и др. Для украшения материала стоит привести результаты разработок, имеющие коммерческое применение в CDMA.
На рисунке ниже приведена частотная характеристика фильтра на поверхностных акустических волнах, предназначенного для мобильного терминала в стандарте IS-95

АЧХ фильтрa на ПАВ в стандарте IS-95
На рисунке ниже — частотная характеристика фильтра для Wideband CDMA — коммуникационной технологии, которая позволяет передавать в том числе движущееся изображение.

АЧХ фильтра на ПАВ для Wideband CDMA

Литература

  • http://kunegin.narod.ru/ref1/cdma/index.htm
  • http://kunegin.narod.ru/ref3/mob/index.htm
  • http://kunegin.narod.ru/ref4/cdma/index.htm
  • → 10:56 MSK. Вторник, 21 апреля 2026 г.
        Нашли ошибку? Сообщите вэбмастеру: wеbmаstеr@qrv.su.
    ◊  О проекте QRV.SU.
     Условия использования материалов сайта.
    © При перепечатке материалов ссылка обязательна.
    ® qrv.ru : 2005 — 2006
    ® qrv.su : 2008 — 2026
        Построено на mini.aCMS™.
    radionet
    web-ring: электроника, электронные компоненты и приборы Электроника, электронные компоненты и приборы Случайный Предыдущий Следующий Яндекс цитирования Коллективная радиостанция RK6LZQ радиоклуб Элита Каменск-Шахтинский Коллективная радиостанция RK6LWL радиоклуб Возрождение г. Донецк
    free counters